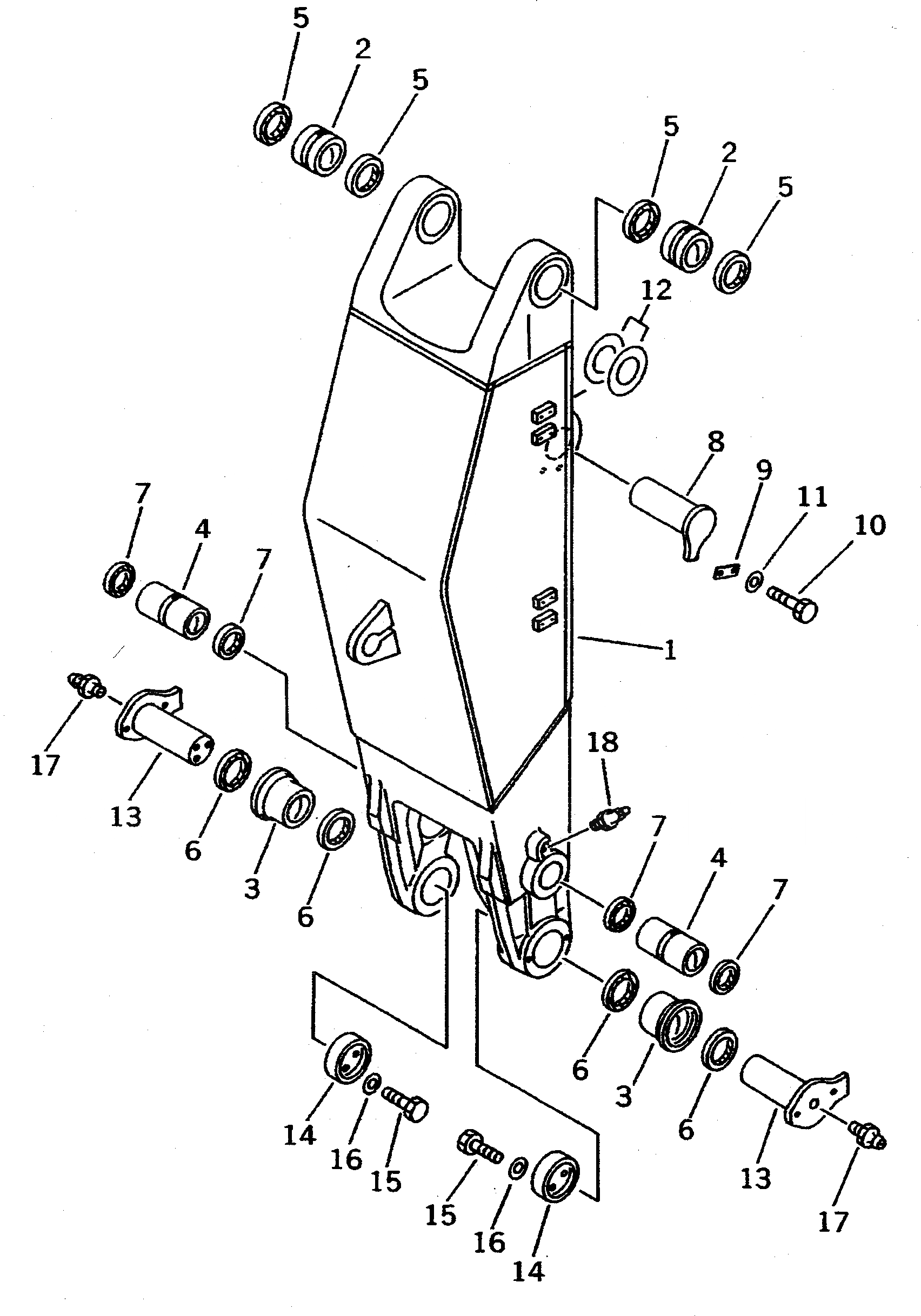
Запчасти Komatsu PC400LC-5 РУКОЯТЬ (ДЛЯ НИЖН. ПОГРУЗ.) РАБОЧЕЕ ОБОРУДОВАНИЕ (ПОГРУЗ.)

Схема запчастей Komatsu PC400LC-5 - РУКОЯТЬ (ДЛЯ НИЖН. ПОГРУЗ.) РАБОЧЕЕ ОБОРУДОВАНИЕ (ПОГРУЗ.)
FIT
1:1
100%

Артикул

Название

Примечание

Количество

G-1

208-72-X2010

ARM GROUP

|$2

208-72-00110

ARM ASS'Y

1

ARM

2

208-72-22130

BUSHING

3

208-72-52170

BUSHING

4

208-72-52180

BUSHING

G-2

208-72-X2020

ARM GROUP

5

208-72-11150

SEAL,DUST

6

208-72-11150

SEAL,DUST

7

208-72-13150

SEAL

8

208-70-31190

PIN

9

205-70-66580

PLATE

10

01010-51235

BOLT

11

01643-31232

WASHER

12

207-70-11360

SPACER, 1.0MM

13

208-72-52150

PIN

14

208-72-52160

HOLDER

15

01010-51645

BOLT

16

01643-31645

WASHER

17

07020-00000

FITTING,GREASE

18

07020-00900

FITTING,GREASE

Выбрано товаров: 0