Запчасти Komatsu PC400LC-5 ОСВЕЩ. МОТОРН. ОТСЕКА (ДЛЯ NORWAY¤ SWEDEN) КОМПОНЕНТЫ ДВИГАТЕЛЯ И ЭЛЕКТРИКА

Схема запчастей Komatsu PC400LC-5 - ОСВЕЩ. МОТОРН. ОТСЕКА (ДЛЯ NORWAY¤ SWEDEN) КОМПОНЕНТЫ ДВИГАТЕЛЯ И ЭЛЕКТРИКА
FIT
1:1
100%

Артикул

Название

Примечание

Количество

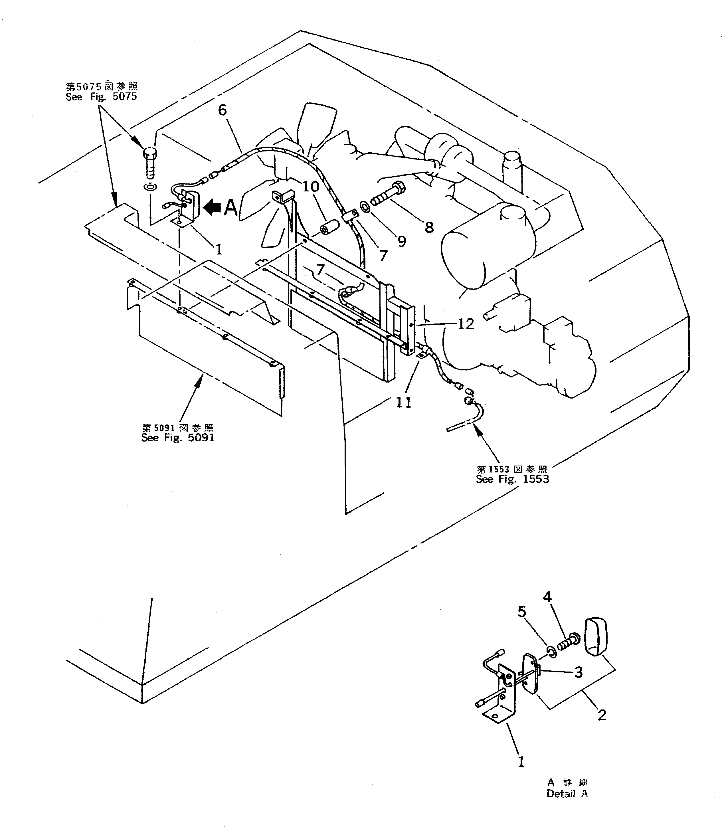
1

207-06-52370

PLATE

2

08141-02400

LAMP

3

08116-02410

BULB, 10W

4

01220-40412

SCREW

5

01601-20410

WASHER

6

207-06-52320

WIRE

7

08036-01014

CLIP

8

01010-51270

BOLT

9

01643-31232

WASHER

10

205-03-71331

COLLAR

11

08036-10614

CLIP

12

208-54-55130

FRAME

Выбрано товаров: 12