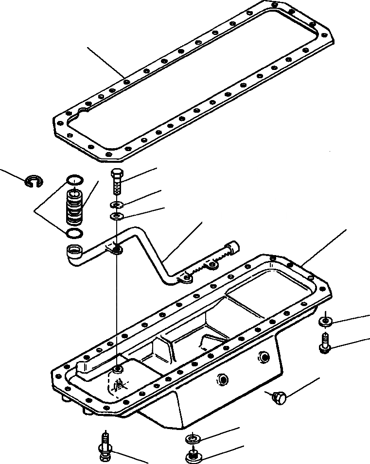
Запчасти Komatsu PC400LC-5 МАСЛЯНЫЙ ПОДДОН БЛОК ЦИЛИНДРОВ

Схема запчастей Komatsu PC400LC-5 - МАСЛЯНЫЙ ПОДДОН БЛОК ЦИЛИНДРОВ
14
4
10
5
12
9
7
6
15
1
11
8
2
3
13
FIT
1:1
100%

Артикул

Название

Примечание

Количество

1

1295 239 H1

PAN, OIL

2

1240 006 H1

WASHER, PLAIN

3

1246 402 H1

PLUG, THREADED

4

1295 240 H1

TUBE, LUBE OIL SUCTION

5

1295 241 H1

BOLT

6

30 282 R1

WASHER, PLAIN

7

1238 098 H1

WASHER, LOCK

8

1246 404 H1

O-RING

9

1294 169 H1

TUBE, LUBE OIL TRANSFER

10

1294 238 H1

GASKET, OIL PAN

11

1295 242 H1

BOLT

12

1246 406 H1

RING, RETAINING

13

1294 028 H1

BOLT, W/WASHER

14

1238 113 H1

WASHER, PLAIN

15

1295 243 H1

PLUG, PIPE

Выбрано товаров: 15