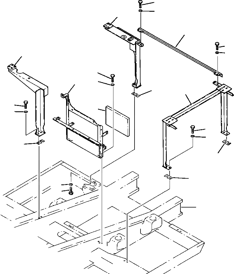
Запчасти Komatsu PC400LC-5 КАПОТ РАМА ЧАСТИ КОРПУСА

Схема запчастей Komatsu PC400LC-5 - КАПОТ РАМА ЧАСТИ КОРПУСА
10
11
16
9
10
11
12
7
8
5
19
1
13
6
14
2
3
15
4
4
18
17
20
FIT
1:1
100%

Артикул

Название

Примечание

Количество

1

208-54-58430

FRAME, L.H. SIDE

2

01010-51240

BOLT

3

01643-31232

WASHER

4

207-54-52560

PLATE

5

208-54-58190

FRAME, CENTER

6

207-54-58320

SHEET

7

01010-51240

BOLT

8

01643-31232

WASHER

9

208-54-58440

FRAME, REAR

10

01010-51230

BOLT

11

175-54-34170

WASHER

12

208-54-58390

FRAME, RIGHT FRONT

13

01010-51230

BOLT

14

01643-31232

WASHER

15

207-54-52560

PLATE

16

208-54-58420

FRAME, RIGHT REAR

17

01010-51240

BOLT

18

01643-31232

WASHER

19

207-54-52560

PLATE

Выбрано товаров: 19