Запчасти Komatsu PC400LC-5 КРЫШКАAND РАМА USED ON MACHINES EQUIPPED С FOPS ЧАСТИ КОРПУСА

Схема запчастей Komatsu PC400LC-5 - КРЫШКАAND РАМА USED ON MACHINES EQUIPPED С FOPS ЧАСТИ КОРПУСА
11
12
2
13
1
2
3
15
3
14
8
9
5
16
6
7
4
9
8
5
6
10
18
17
19
FIT
1:1
100%

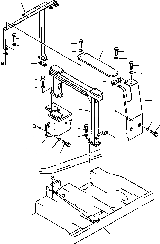
Артикул

Название

Примечание

Количество

1

208-956-5170

COVER, TOP

2

01010-51225

BOLT

3

01643-31232

WASHER

4

207-956-5121

GUARD

5

01010-51640

BOLT

6

01643-31645

WASHER

7

207-956-5161

COVER, SIDE

8

01010-51225

BOLT

9

01643-31232

WASHER

10

207-956-5190

BRACKET

11

207-956-5211

BRACKET

12

01010-51230

BOLT

13

01643-31232

WASHER

16

207-956-5181

BRACKET

17

01010-51640

BOLT

18

01643-31645

WASHER

Выбрано товаров: 16