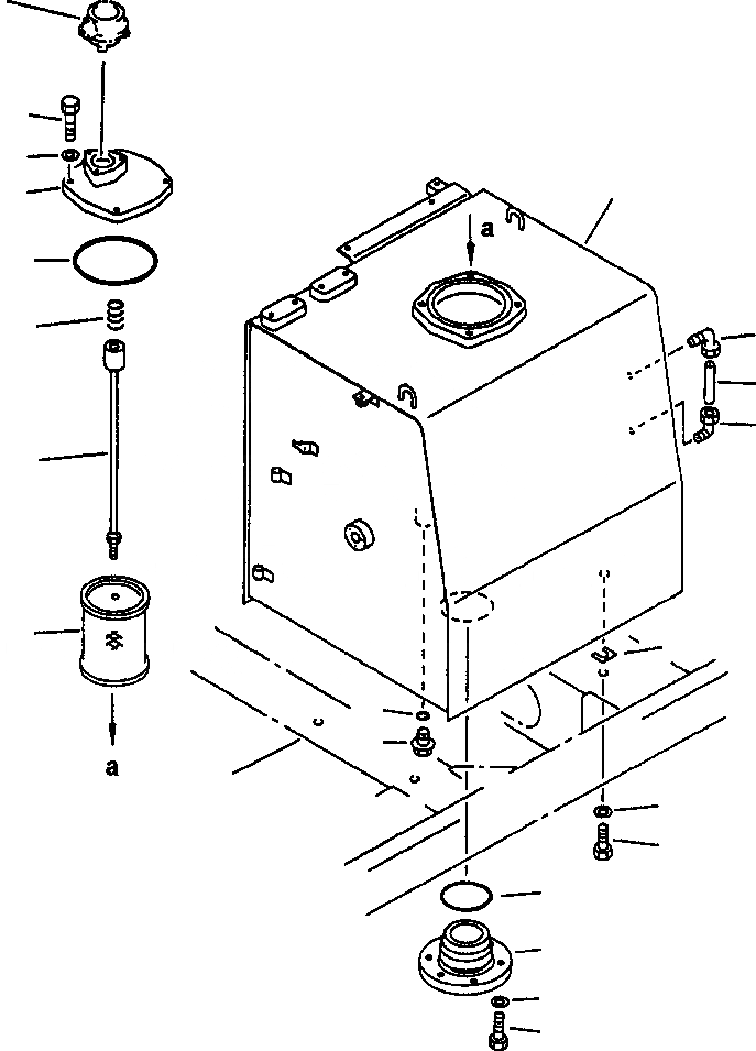
Запчасти Komatsu PC400LC-5 ГИДРАВЛ МАСЛ. БАК заводской номер A778 И UP УПРАВЛ-Е РАБОЧИМ ОБОРУДОВАНИЕМ

Схема запчастей Komatsu PC400LC-5 - ГИДРАВЛ МАСЛ. БАК заводской номер A778 И UP УПРАВЛ-Е РАБОЧИМ ОБОРУДОВАНИЕМ
20
10
11
1
12
13
14
2
3
2
15
16
19
4
5
21
18
17
7
6
9
8
FIT
1:1
100%

Артикул

Название

Примечание

Количество

|$0

208-60-00100

TANK ASSEMBLY

1

NSS

TANK

2

203-60-31100

ELBOW ASSEMBLY

3

203-60-31160

TUBE

4

07002-02434

O-RING

5

07044-12412

PLUG

6

207-62-52291

FLANGE

7

07000-02125

O-RING

8

01010-81245

BOLT

9

01643-31232

WASHER

10

01010-81035

BOLT

11

01643-31032

WASHER

12

208-60-51252

COVER

13

07000-05180

O-RING

14

12R-60-11230

SPRING

15

207-60-51161

SUPPORT

16

207-60-51200

STRAINER

17

01010-81635

BOLT

18

01643-31645

WASHER

19

195-03-11570

SHIM, 1.0 MM

Выбрано товаров: 20