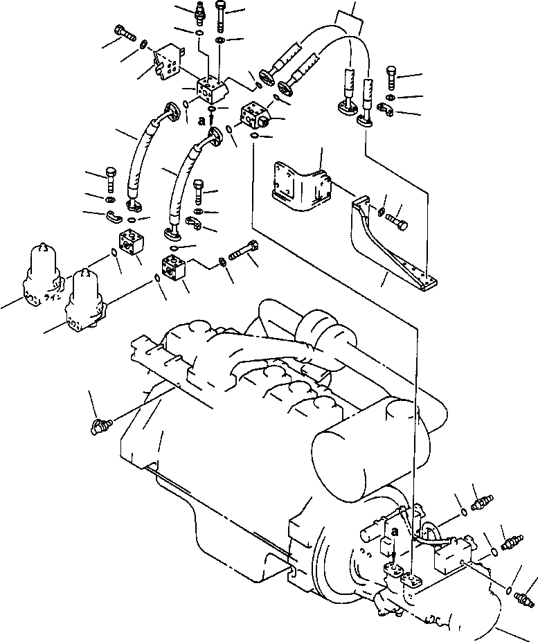
Запчасти Komatsu PC400LC-5 ГИДРОЛИНИЯ ГИДР. НАСОС. - ФИЛЬТР УПРАВЛ-Е РАБОЧИМ ОБОРУДОВАНИЕМ

Схема запчастей Komatsu PC400LC-5 - ГИДРОЛИНИЯ ГИДР. НАСОС. - ФИЛЬТР УПРАВЛ-Е РАБОЧИМ ОБОРУДОВАНИЕМ
19
3
7
4
9
17
20
18
22
16
2
23
6
20
21
1
15
10
32
6
10
14
12
26
12
13
25
11
13
10
11
10
5
8
6
9
24
5
6
34
34
29
27
28
30
31
28
27
33
FIT
1:1
100%

Артикул

Название

Примечание

Количество

1

207-62-51750

BLOCK

2

207-62-51760

BLOCK

3

799-101-5230

NIPPLE

4

209-62-61330

O-RING

5

207-62-51880

BLOCK

6

21T-09-11470

O-RING

7

01010-81085

BOLT

8

01010-81070

BOLT

9

01643-31032

WASHER

10

21T-09-11460

O-RING

11

07371-31049

FLANGE, SPLIT

12

07372-21035

BOLT

13

01643-51032

WASHER

14

208-62-51580

HOSE

15

207-62-51921

HOSE

16

207-62-52690

PLATE

17

01010-81020

BOLT

18

01643-31032

WASHER

19

207-62-52650

HOSE

20

21T-09-11460

O-RING

21

07371-31049

FLANGE, SPLIT

22

07372-21035

BOLT

23

01643-51032

WASHER

24

207-62-51373

BRACKET

25

01010-81240

BOLT

26

01643-31232

WASHER

27

799-101-5220

NIPPLE

28

07002-01023

O-RING

29

195-49-36120

NIPPLE

30

799-101-5230

NIPPLE

31

07002-01423

O-RING

Выбрано товаров: 31