Запчасти Komatsu PC400LC-5 ПОЛУ-УДЛИНН. РУКОЯТЬ FT. - IN. (. M) РАБОЧЕЕ ОБОРУДОВАНИЕ (ЭКСКАВАТ.)

Схема запчастей Komatsu PC400LC-5 - ПОЛУ-УДЛИНН. РУКОЯТЬ FT. - IN. (. M) РАБОЧЕЕ ОБОРУДОВАНИЕ (ЭКСКАВАТ.)
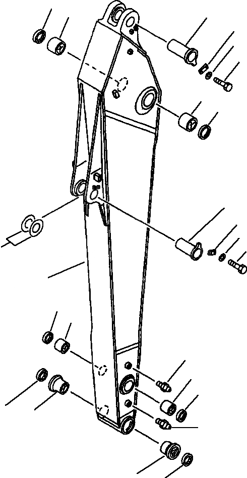
6
2
9
10
12
11
2
6
13
14
16
15
17
1
7
3
5
3
7
8
4
5
4
8
FIT
1:1
100%

Артикул

Название

Примечание

Количество

|$0

208-947-5100

ARM ASSEMBLY, SEMI-LONG

1

NSS

ARM

2

208-70-11241

BUSHING

3

208-70-13141

BUSHING

4

208-70-32140

BUSHING

5

07020-00000

FITTING, GREASE

6

07145-00120

SEAL, DUST

7

208-70-12231

SEAL, DUST

8

205-70-62160

SEAL, DUST

9

208-70-31190

PIN

10

205-70-66580

PLATE

11

01010-81235

BOLT

12

01643-31232

WASHER

13

207-70-31190

PIN

14

205-70-66580

PLATE

15

01010-81235

BOLT

16

01643-31232

WASHER

17

207-70-11340

SPACER, 0.031 IN. (0.8 MM)

Выбрано товаров: 18