Запчасти Komatsu PC400LC-5 КАПОТ РАМА ЧАСТИ КОРПУСА

Схема запчастей Komatsu PC400LC-5 - КАПОТ РАМА ЧАСТИ КОРПУСА
10
11
16
9
10
12
11
7
5
8
19
1
13
6
14
2
3
15
4
4
18
17
20
1
FIT
1:1
100%

Артикул

Название

Примечание

Количество

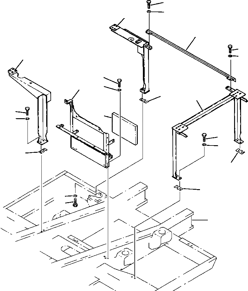
1

208-54-51153

FRAME, L.H. SIDE

2

01010-81240

BOLT

3

01643-31232

WASHER

4

207-54-52560

PLATE

5

208-54-51710

FRAME, CENTER

6

207-54-51530

SHEET

7

01010-81230

BOLT

8

01643-31232

WASHER

9

208-54-51192

FRAME, REAR

10

01010-81240

BOLT

11

175-54-34170

WASHER

12

208-54-51771

FRAME, RIGHT FRONT

13

01010-81230

BOLT

14

01643-31232

WASHER

15

207-54-52560

PLATE

16

208-54-51781

FRAME, RIGHT REAR

17

01010-81240

BOLT

18

01643-31232

WASHER

19

207-54-52560

PLATE

Выбрано товаров: 19