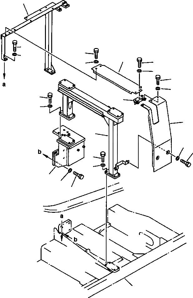
Запчасти Komatsu PC400LC-5 КРЫШКАAND РАМА MACHINES EQUIPPED С FOPS ОПЦ. ЧАСТИ КОРПУСА

Схема запчастей Komatsu PC400LC-5 - КРЫШКАAND РАМА MACHINES EQUIPPED С FOPS ОПЦ. ЧАСТИ КОРПУСА
11
12
2
13
1
2
3
3
8
9
5
14
6
7
4
9
8
5
6
10
16
15
17
FIT
1:1
100%

Артикул

Название

Примечание

Количество

1

208-956-5170

COVER, TOP

2

01010-81225

BOLT

3

01643-31232

WASHER

4

207-956-5121

GUARD

5

01010-81640

BOLT

6

01643-31645

WASHER

7

207-956-5161

COVER, SIDE

8

01010-81225

BOLT

9

01643-31232

WASHER

10

207-956-5190

BRACKET

11

208-956-5211

BRACKET

12

01010-81230

BOLT

13

01643-31232

WASHER

14

207-956-5181

BRACKET

15

01010-81640

BOLT

16

01643-31645

WASHER

Выбрано товаров: 16