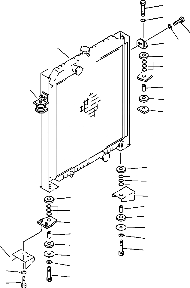
Запчасти Komatsu PC400LC-5 КРЕПЛЕНИЕ РАДИАТОРА КОМПОНЕНТЫ ДВИГАТЕЛЯ & ЭЛЕКТРИКА

Схема запчастей Komatsu PC400LC-5 - КРЕПЛЕНИЕ РАДИАТОРА КОМПОНЕНТЫ ДВИГАТЕЛЯ & ЭЛЕКТРИКА
8
9
2
1
3
19
5
7
20
1
6
5
4
14
16
21
14
15
16
14
10
13
15
18
21
14
17
13
18
12
17
11
FIT
1:1
100%

Артикул

Название

Примечание

Количество

1

207-03-51230

BRACKET, TOP

2

01010-81230

BOLT

3

01643-31232

WASHER

4

207-03-51240

BRACKET, BOTTOM

5

207-03-51380

CUSHION

6

205-03-71330

COLLAR

7

07000-03022

O-RING

8

01010-31270

BOLT

9

01643-31232

WASHER

10

207-03-51260

BRACKET

11

01010-31235

BOLT

12

01643-31232

WASHER

13

20B-910-3180

HOLDER

14

207-03-51370

CUSHION

15

205-03-71330

COLLAR

16

07000-03022

O-RING

17

01010-31270

BOLT

18

01643-31232

WASHER

Выбрано товаров: 18