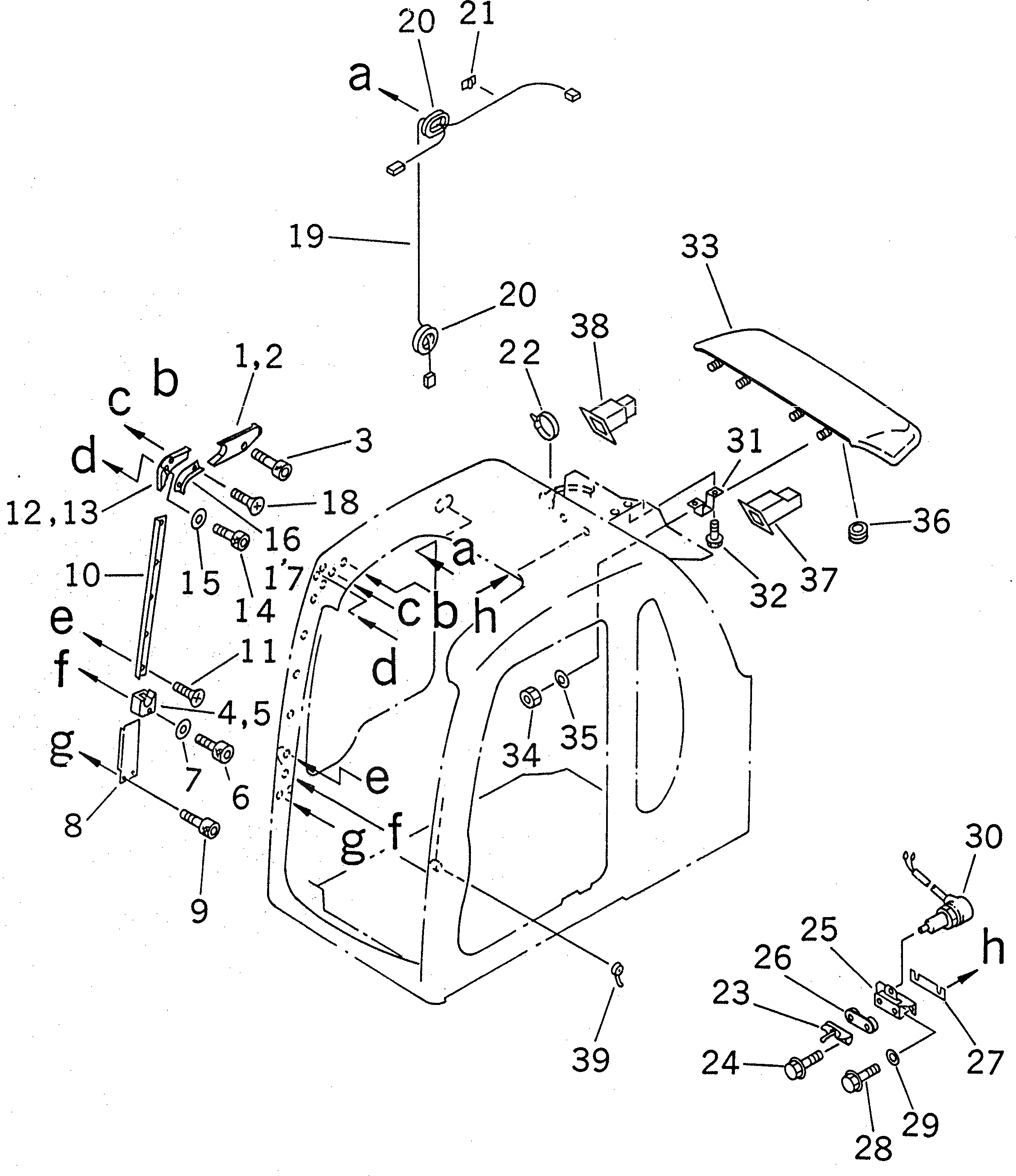
Запчасти Komatsu PC400LC-6 КАБИНА (ПЕРЕДН. РАМА) (ПЕРЕКЛЮЧАТЕЛЬ И COVER) (ДЛЯ POWER СДВИГ. ВВЕРХ ОКНА) КАБИНА ОПЕРАТОРА И СИСТЕМА УПРАВЛЕНИЯ

Схема запчастей Komatsu PC400LC-6 - КАБИНА (ПЕРЕДН. РАМА) (ПЕРЕКЛЮЧАТЕЛЬ И COVER) (ДЛЯ POWER СДВИГ. ВВЕРХ ОКНА) КАБИНА ОПЕРАТОРА И СИСТЕМА УПРАВЛЕНИЯ
FIT
1:1
100%

Артикул

Название

Примечание

Количество

1

20Y-54-38423

BLOCK,LH

2

20Y-54-38473

BLOCK,RH

3

01240-00625

SCREW

4

20Y-54-38673

BLOCK

|4

20Y-54-38672

BLOCK,LH

|4

20Y-54-38671

BLOCK,LH

5

20Y-54-38683

BLOCK

|5

20Y-54-38682

BLOCK,RH

|5

20Y-54-38681

BLOCK,RH

6

01252-50635

BOLT

7

01641-50608

WASHER

8

20Y-54-38661

COVER

9

01220-70512

SCREW

10

20Y-54-38691

PLATE

11

01224-70512

SCREW

12

20Y-54-38723

BLOCK,LH

13

20Y-54-38733

BLOCK,RH

14

01252-50616

BOLT

15

01641-50608

WASHER

16

20Y-54-38712

BLOCK,LH

17

20Y-54-38742

BLOCK,RH

18

01224-70512

SCREW

19

20Y-54-38883

WIRING HARNESS

20

20Y-54-36150

GROMMET

21

08051-00801

CLIP

22

08034-00310

BAND

23

205-54-63310

LOCK ASS'Y

24

01435-40835

BOLT

|24

01435-30835

BOLT

25

20Y-54-39363

BRACKET

26

20Y-54-39820

BRACKET

27

20Y-54-39790

SHIM

28

01435-40820

BOLT

|28

01435-30820

BOLT

29

154-61-16570

WASHER

30

08074-40000

SWITCH

31

20Y-54-38980

CLAMP

32

01435-00616

BOLT

33

20Y-54-38322

COVER

34

01580-11008

NUT

35

01643-31032

WASHER

36

09415-01610

CAP

37

20Y-54-39380

COVER,L.H

38

20Y-54-39390

COVER,R.H

39

20Y-54-39710

HOLDER

Выбрано товаров: 45