Запчасти Komatsu PC400LC-6 ЭЛЕКТРОПРОВОДКА (СОЛЕНОИДНЫЙ КЛАПАН) (ПОГРУЗ.)(№9-) ЭЛЕКТРИКА

Схема запчастей Komatsu PC400LC-6 - ЭЛЕКТРОПРОВОДКА (СОЛЕНОИДНЫЙ КЛАПАН) (ПОГРУЗ.)(№9-) ЭЛЕКТРИКА
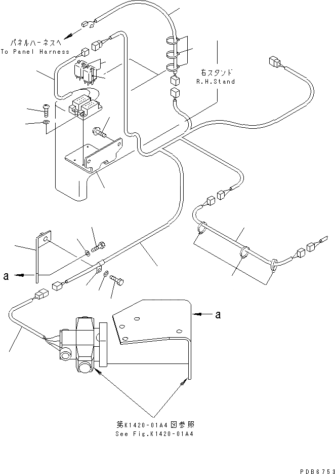
1
2
3
4
5
6
7
8
9
10
11
12
13
14
15
16
17
18
19
FIT
1:1
100%

Артикул

Название

Примечание

Количество

1

208-06-61210

WIRING HARNESS

|1

08020-00000

DIODE

2

01010-81025

BOLT

3

01643-31232

WASHER

4

08036-01014

CLIP

5

208-06-67230

WIRING HARNESS

6

208-06-61250

BRACKET

7

01435-00825

BOLT

8

20K-06-11260

RELAY

9

20K-06-11280

SPRING

10

01220-40412

SCREW

11

01641-20405

WASHER

12

208-06-61220

WIRING HARNESS

13

208-06-61240

BRACKET

14

01010-81230

BOLT

15

01643-31232

WASHER

16

20Y-06-21361

WIRING HARNESS

17

08034-00519

BAND

18

208-06-61270

WIRING HARNESS

19

08034-00519

BAND

Выбрано товаров: 20