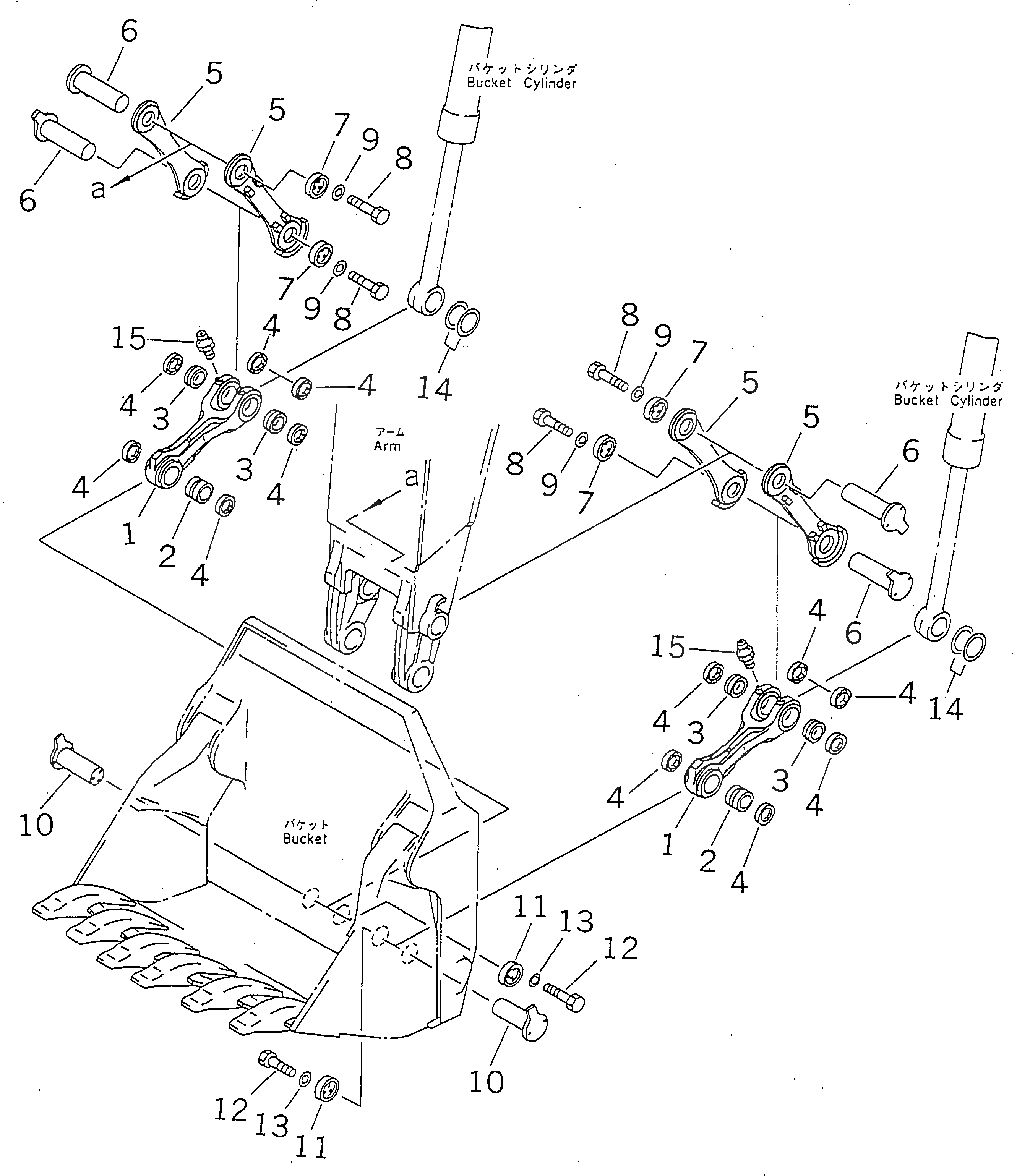
Запчасти Komatsu PC400LC-6 РУКОЯТЬ (СОЕДИНЕНИЕ КОВША) (ПОГРУЗ.) РАБОЧЕЕ ОБОРУДОВАНИЕ

Схема запчастей Komatsu PC400LC-6 - РУКОЯТЬ (СОЕДИНЕНИЕ КОВША) (ПОГРУЗ.) РАБОЧЕЕ ОБОРУДОВАНИЕ
FIT
1:1
100%

Артикул

Название

Примечание

Количество

|1

208-72-00120

LINK ASS'Y

1

LINK

2

208-72-24130

BUSHING

3

208-72-53160

BUSHING

4

208-72-13150

SEAL

5

208-72-68310

LINK

6

208-72-53150

PIN

7

208-72-53140

HOLDER

8

01010-81225

BOLT

|8

01010-51225

BOLT

9

01643-31232

WASHER

10

208-72-53130

PIN

11

208-72-53140

HOLDER

12

01010-81225

BOLT

|12

01010-51225

BOLT

13

01643-31232

WASHER

14

207-70-31340

SPACER¤ 0.8MM

15

07020-00000

FITTING

Выбрано товаров: 18