Запчасти Komatsu PC400LC-6 КОВШ¤ .8M (CECE .M)¤ MM (ВЕРТИКАЛЬН. ПАЛЕЦ) (С РЕГУЛИРОВКОЙ) РАБОЧЕЕ ОБОРУДОВАНИЕ

Схема запчастей Komatsu PC400LC-6 - КОВШ¤ .8M (CECE .M)¤ MM (ВЕРТИКАЛЬН. ПАЛЕЦ) (С РЕГУЛИРОВКОЙ) РАБОЧЕЕ ОБОРУДОВАНИЕ
FIT
1:1
100%

Артикул

Название

Примечание

Количество

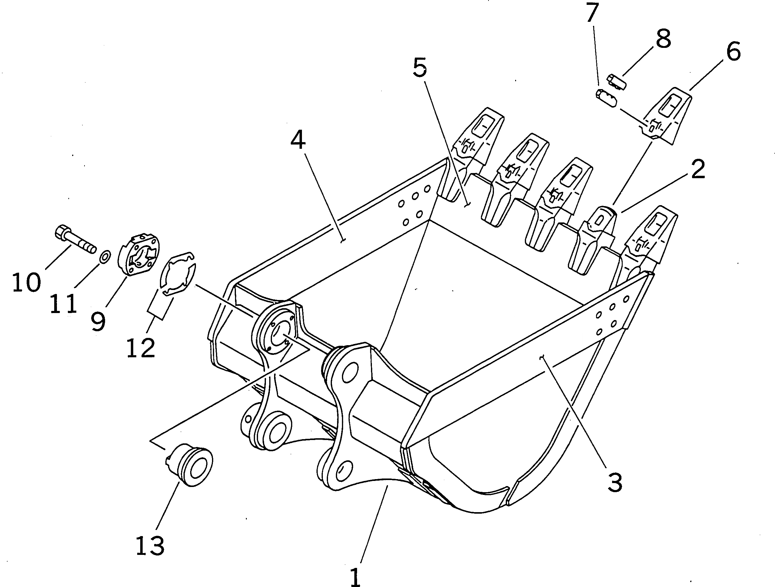
1

208-70-54111

BUCKET

2

208-70-34150

ADAPTER (WELDED)

3

208-70-54121

PLATE,L.H. (WELDED)

4

208-70-54131

PLATE,R.H. (WELDED)

5

208-70-54140

PLATE (WELDED)

6

208-70-34211

TOOTH

7

208-70-34220

PIN

8

208-70-34191

LOCK

9

208-70-34240

COVER

10

01010-62470

BOLT

11

01643-32460

WASHER

12

208-70-00080

SHIM ASS'Y

|12

SHIM¤ 1.0MM

|12

SHIM¤ 0.5MM

13

208-70-34230

BUSHING

1

208-70-54111

BUCKET

2

208-70-34150

ADAPTER (WELDED)

3

208-70-54121

PLATE,L.H. (WELDED)

4

208-70-54131

PLATE,R.H. (WELDED)

5

208-70-54140

PLATE (WELDED)

6

208-70-34211

TOOTH

7

208-70-34220

PIN

8

208-70-34191

LOCK

9

208-70-34240

COVER

10

01010-62470

BOLT

11

01643-32460

WASHER

12

208-70-00080

SHIM ASS'Y

|12

SHIM¤ 1.0MM

|12

SHIM¤ 0.5MM

13

208-70-34230

BUSHING

Выбрано товаров: 30