Запчасти Komatsu PC400LC-6 ЛЕВ. ДВЕРЬ (КАБИНА)(№-9) ЧАСТИ КОРПУСА

Схема запчастей Komatsu PC400LC-6 - ЛЕВ. ДВЕРЬ (КАБИНА)(№-9) ЧАСТИ КОРПУСА
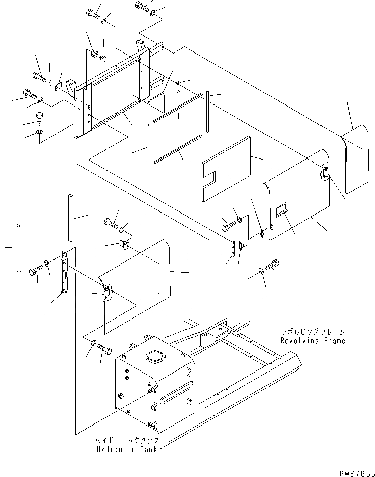
1
2
2
3
4
5
6
7
8
9
10
11
12
13
14
15
16
17
18
19
20
21
22
23
24
25
26
27
28
29
29
30
30
31
32
33
34
35
36
37
38
39
40
41
FIT
1:1
100%

Артикул

Название

Примечание

Количество

1

208-54-61111

COVER

2

207-54-61160

SHEET

3

21K-54-22460

HINGE (WELDED)

4

207-54-61171

BRACKET

5

01010-81230

BOLT

6

01643-31232

WASHER

7

01010-81230

BOLT

8

01643-31232

WASHER

9

207-54-61181

PLATE

10

01010-81230

BOLT

11

01643-31232

WASHER

12

207-54-61152

COVER

13

203-54-62180

HINGE (WELDED)

14

198-54-41982

LOCK ASS'Y (WELDED)

15

205-54-53550

DOVE TAIL

16

01010-80612

BOLT

17

01643-30623

WASHER

18

208-54-61132

FRAME,L.H.

19

01010-81230

BOLT

20

01643-31232

WASHER

21

20Y-54-28170

BRACKET

22

205-54-51970

DOVE TAIL

23

01010-80616

BOLT

24

01643-30623

WASHER

25

20Y-54-28182

PLATE

26

01010-81230

BOLT

27

01643-31232

WASHER

28

20Y-54-29232

BAR

29

20Y-54-29251

SEAL

30

20Y-54-29261

SEAL

31

20Y-54-11611

STOPPER

32

01580-11008

NUT

33

01010-81235

BOLT

34

01643-31232

WASHER

35

20Y-54-28291

PLATE

36

208-54-61221

COVER,L.H.

37

01010-81230

BOLT

38

01643-31232

WASHER

39

01010-81230

BOLT

40

01643-31232

WASHER

41

20Y-54-28261

SHEET

Выбрано товаров: 41