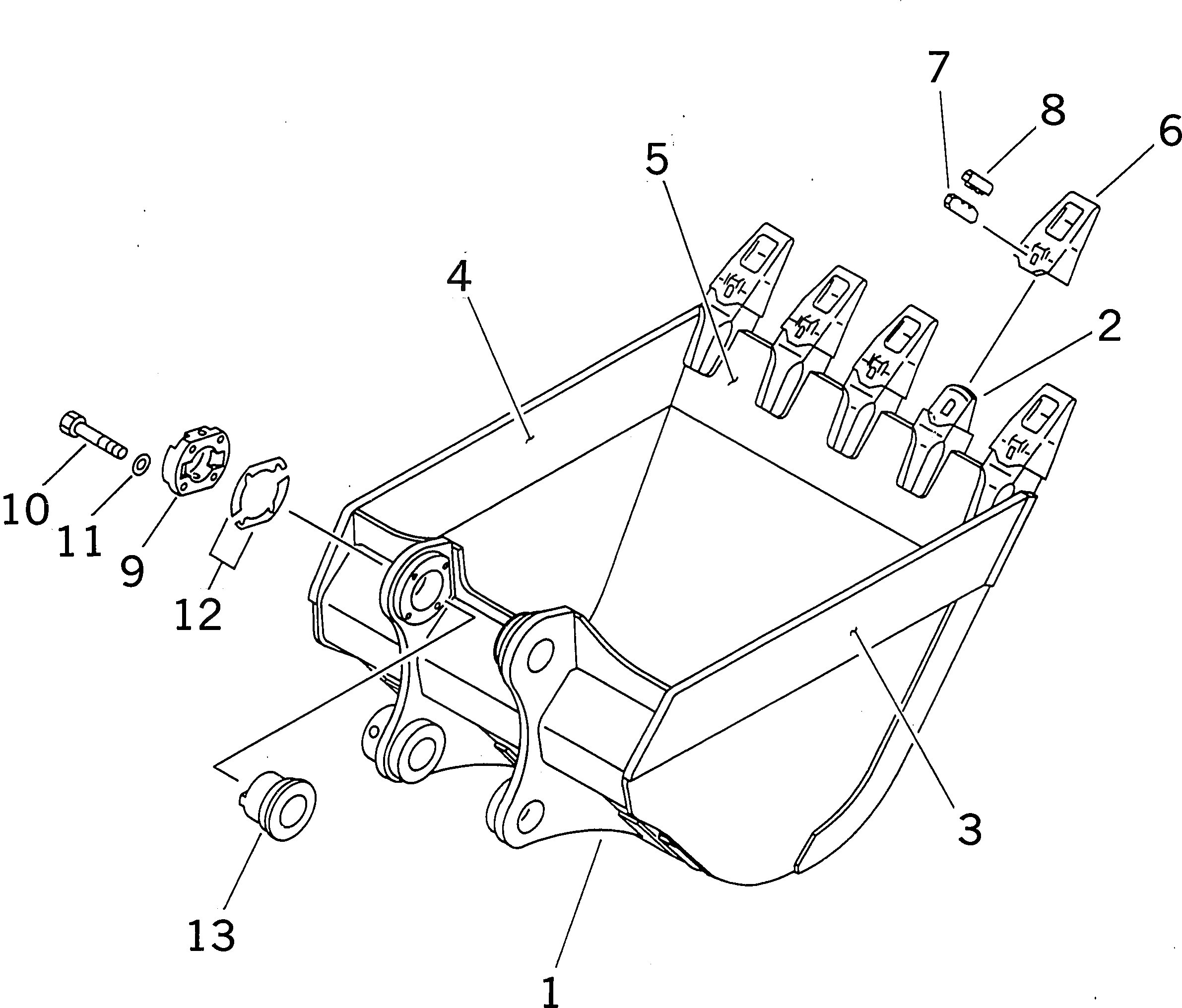
Запчасти Komatsu PC400LC-6 КОВШ¤ .M (CECE .M)¤ 7MM (ВЕРТИКАЛЬН. ПАЛЕЦ) (С РЕГУЛИРОВКОЙ) РАБОЧЕЕ ОБОРУДОВАНИЕ

Схема запчастей Komatsu PC400LC-6 - КОВШ¤ .M (CECE .M)¤ 7MM (ВЕРТИКАЛЬН. ПАЛЕЦ) (С РЕГУЛИРОВКОЙ) РАБОЧЕЕ ОБОРУДОВАНИЕ
FIT
1:1
100%

Артикул

Название

Примечание

Количество

1

208-920-5210

BUCKET

2

208-70-34150

ADAPTER (WELDED)

3

208-920-5221

PLATE,L.H. (WELDED)

3

208-920-5220

PLATE,L.H. (WELDED)

4

208-920-5231

PLATE,R.H. (WELDED)

4

208-920-5230

PLATE,R.H. (WELDED)

5

208-920-5240

PLATE (WELDED)

6

208-70-34211

TOOTH

7

208-70-34220

PIN

8

208-70-34191

LOCK

9

208-70-34240

COVER

10

01010-62470

BOLT

11

01643-32460

WASHER

12

208-70-00081

SHIM ASS'Y

12

208-70-00080

SHIM ASS'Y

12

SHIM, 1.0MM

12

SHIM, 1.0MM

12

SHIM, 0.5MM

13

208-70-34230

BUSHING

Выбрано товаров: 0