Запчасти Komatsu PC400LC-6 КОВШ¤ .M¤ MM (ГОРИЗОНТАЛЬН. ПАЛЕЦ) РАБОЧЕЕ ОБОРУДОВАНИЕ

Схема запчастей Komatsu PC400LC-6 - КОВШ¤ .M¤ MM (ГОРИЗОНТАЛЬН. ПАЛЕЦ) РАБОЧЕЕ ОБОРУДОВАНИЕ
FIT
1:1
100%

Артикул

Название

Примечание

Количество

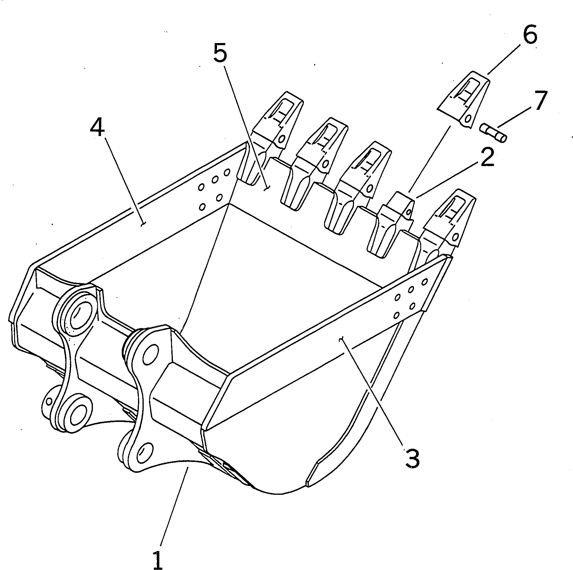
1

208-920-5310

BUCKET

2

208-939-3120

ADAPTER (WELDED)

3

208-70-54121

PLATE,L.H. (WELDED)

3

208-70-54120

PLATE,L.H. (WELDED)

4

208-70-54131

PLATE,R.H. (WELDED)

4

208-70-54130

PLATE,R.H. (WELDED)

5

208-920-5120

PLATE (WELDED)

6

208-70-14152

TOOTH

7

09244-03036

PIN

Выбрано товаров: 0