Качественные детали и логистика
Оригинальные и аналоговые запчасти с доставкой по России, Казахстану и Беларуси
©2022 PartSell ООО "Система" ИНН 2463123282 ОГРН 1212400004838
Центральный офис: г. Красноярск, Академика Киренского, д.87, пом.4
Телефон: 8 (800) 777-65-74 Email: zakaz@partsell.ru
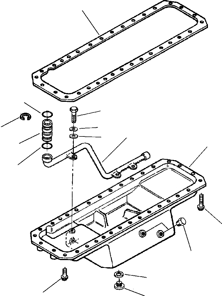
МАСЛЯНЫЙ ПОДДОН
№
Артикул
Название
Примечание
Количество
1
1310 933 H1
BOLT (M10x1.50x30)
2
1246 404 H1
O-RING
3
1246 406 H1
RING, RETAINING
|$3
1304 996 H91
ASSEMBLY, OIL PAN
4
6733-71-5810
WASHER, LOCK (1/4 INCH)
5
6216-84-6520
WASHER, PLAIN (1/4 INCH)
6
1295 243 H1
PLUG, PIPE (3/8 NPT)
7
1240 006 H1
WASHER, PLAIN (1 1/32 INCH)
8
1295 241 H1
BOLT (M6x1.00x18)
9
1246 402 H1
PLUG, THREADED (1 - 18 UNS)
10
1295 239 H1
PAN, OIL
11
1304 997 H1
TUBE, OIL SUCTION
12
1310 934 H1
BOLT (M10x1.50x55)
13
1294 238 H1
GASKET, OIL PAN
14
1294 169 H1
TUBE, OIL TRANSFER
Выбрано товаров: 0