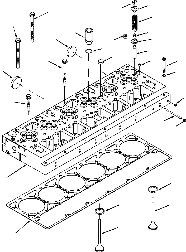
Запчасти Komatsu PC400LC-6LC ГОЛОВКА ЦИЛИНДРОВ ДВИГАТЕЛЬ

Схема запчастей Komatsu PC400LC-6LC - ГОЛОВКА ЦИЛИНДРОВ ДВИГАТЕЛЬ
14
12
27
10
26
18
6
3
15
19
5
9
4
2
21
25
20
24
16
22
17
16
1
7
8
13
11
23
FIT
1:1
100%

Артикул

Название

Примечание

Количество

|$0

1307 004 H91

HEAD, CYLINDER

1

NSS

HEAD, CYLINDER

2

1239 144 H1

PLUG, EXPANSION

3

1246 425 H1

PLUG, EXPANSION

4

6736-21-1820

PLUG, EXPANSION

5

1239 149 H1

O-RING

6

1241 724 H1

SLEEVE, INJECTOR

7

1246 427 H1

INSERT, VALVE (EXHAUST)

8

1296 486 H1

INSERT, VALVE (INTAKE)

9

1296 073 H1

GUIDE, VALVE STEM

10

1304 609 H1

SPRING, VALVE

|$11

1296 642 H91

VALVE, INTAKE

11

NSS

VALVE, INTAKE

12

139 850

COLLET, VALVE

|$14

1296 641 H92

VALVE, EXHAUST

13

NSS

VALVE, EXHAUST

12

139 850

COLLET, VALVE

14

1296 488 H1

RETAINER, VALVE SPRING

15

1296 489 H2

GUIDE, SPRING

16

1240 101 H1

PLUG, PIPE

17

1294 177 H1

PLUG, ORIFICE

18

1296 074 H1

SEAL, VALVE STEM (INTAKE)

19

6731-41-4580

SEAL, VALVE STEM (EXHAUST)

20

1304 782 H1

PLUG, EXPANSION

21

1294 173 H1

BOLT (M14x1.50x140)

22

1294 172 H1

BOLT (M14x1.50x75)

23

1296 076 H4

GASKET, CYLINDER HEAD

24

1294 090 H1

WASHER, PLAIN

25

1307 057 H1

BOLT (M10x1.25x75)

26

1304 783 H1

BOLT (M10x1.50x75)

27

1246 440 H3

BOLT (M10x1.50x75)

|$33

1296 077 H1

GUIDE, VALVE STEM (.20 mm OVERSIZE)

|$36

1246 640 H1

INSERT, VALVE (.25 mm OVERSIZE)

|$37

1246 641 H1

INSERT, VALVE (.50 mm OVERSIZE)

|$38

1246 642 H1

INSERT, VALVE (.75 mm OVERSIZE)

|$39

1246 643 H1

INSERT, VALVE (1.00 mm OVERSIZE)

Выбрано товаров: 0