Запчасти Komatsu PC400LC-6LC FIG NO. K-A КАБИНА КАБИНА, РУЧКА И ФИКСАТОР ОТКРЫТИЯ КАБИНА ОПЕРАТОРА И СИСТЕМА УПРАВЛЕНИЯ

Схема запчастей Komatsu PC400LC-6LC - FIG NO. K-A КАБИНА КАБИНА, РУЧКА И ФИКСАТОР ОТКРЫТИЯ КАБИНА ОПЕРАТОРА И СИСТЕМА УПРАВЛЕНИЯ
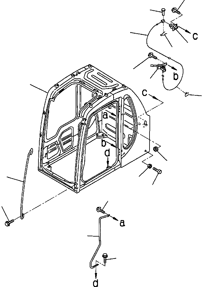
8
12
11
7
13
10
9
1
15
14
2
17
16
5
3
4
6
FIT
1:1
100%

Артикул

Название

Примечание

Количество

|$0

20Y-54-00358

CAB ASSEMBLY, OPERATOR'S

1

NSS

CAB

2

20Y-54-35680

GRIP

3

01435-30820

BOLT

4

20Y-54-36240

GRIP

5

01435-31025

BOLT

6

01435-31020

BOLT

7

20Y-54-36380

LOCK

8

01435-30820

BOLT

9

20Y-54-35982

LOCK, RELEASE

10

01435-30616

BOLT

11

20Y-54-35995

CABLE

12

04205-10520

PIN

13

04052-10530

PIN

14

09415-01610

CAP

15

08051-00801

CLIP

16

20Y-54-11611

STOPPER

17

01580-11008

NUT

Выбрано товаров: 18