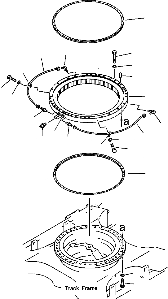
Запчасти Komatsu PC400LC-6LC FIG NO. N-A ПОВОРОТН. КРУГ ПОВОРОТН. КРУГ И КОМПОНЕНТЫ

Схема запчастей Komatsu PC400LC-6LC - FIG NO. N-A ПОВОРОТН. КРУГ ПОВОРОТН. КРУГ И КОМПОНЕНТЫ
2
9
15
8
16
12
6
13
1
14
11
9
3
7
14
11
10
12
13
2
5
4
FIT
1:1
100%

Артикул

Название

Примечание

Количество

1

208-25-A3100

SWING CIRCLE ASSEMBLY

2

207-25-A1120

SEAL

3

205-25-71280

NIPPLE

4

207-25-31180

BOLT

5

01643-32460

WASHER

6

04020-01842

PIN

7

208-25-61211

TUBE

8

208-25-61221

TUBE

9

20Y-25-11270

ELBOW

10

07020-00000

FITTING

11

07214-50813

CONNECTOR

12

08036-00814

CLIP

13

01010-51020

BOLT

14

01643-31032

WASHER

15

208-25-61230

BOLT

16

01643-32780

WASHER

Выбрано товаров: 16