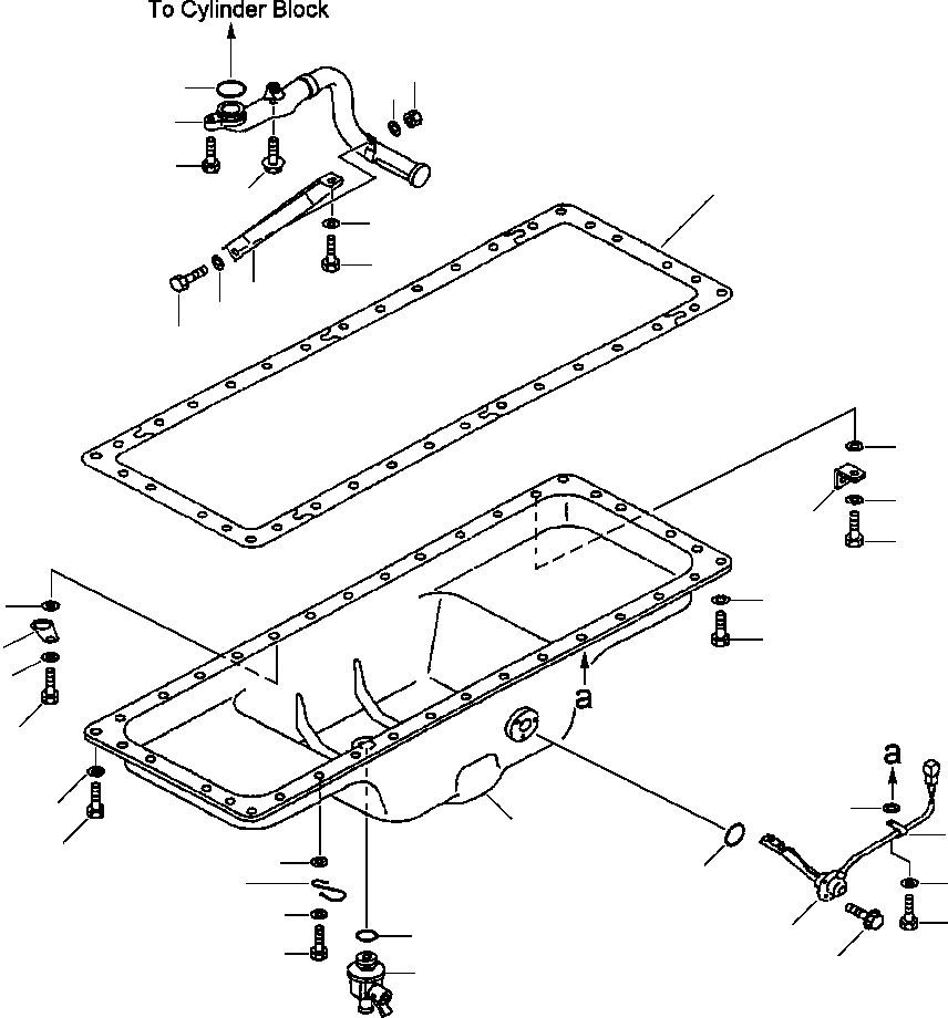
Запчасти Komatsu PC400LC-6LK FIG. A-B7A МАСЛЯНЫЙ ПОДДОН ДВИГАТЕЛЬ

Схема запчастей Komatsu PC400LC-6LK - FIG. A-B7A МАСЛЯНЫЙ ПОДДОН ДВИГАТЕЛЬ
26
25
18
17
19
7
20
23
22
21
26
24
13
13
16
10
11
13
9
14
13
8
13
11
1
15
8
13
5
12
11
13
8
3
4
10
6
2
FIT
1:1
100%

Артикул

Название

Примечание

Количество

1

6150-23-5181

PAN, OIL

2

6150-23-5190

COCK, DRAIN

3

07002-22434

O-RING

4

7861-92-4210

SENSOR, OIL LEVEL

5

7861-91-4220

O-RING

6

01435-20612

BOLT

7

6120-21-5812

GASKET

8

01010-81030

BOLT

9

01010-81025

BOLT

10

01010-81035

BOLT

11

01640-21016

WASHER

12

6130-22-5290

CLIP, BREATHER HOSE

13

01643-31032

WASHER

14

6101-61-6620

CLAMP

15

08036-10814

CLIP

16

6150-61-6370

BRACKET

17

6150-51-6350

STRAINER, OIL

18

07000-63045

O-RING

19

01010-81035

BOLT

20

6150-81-9370

BOLT

21

6150-51-6241

BRACKET

22

01010-81020

BOLT

23

01643-31032

WASHER

24

01010-81025

BOLT

25

01580-01008

NUT

26

01643-31032

WASHER

Выбрано товаров: 26