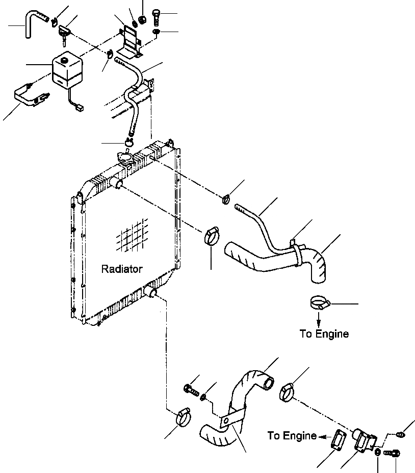
Запчасти Komatsu PC400LC-6LK FIG. C-A СИСТЕМА ТРУБ РАДИАТОРА СИСТЕМА ОХЛАЖДЕНИЯ

Схема запчастей Komatsu PC400LC-6LK - FIG. C-A СИСТЕМА ТРУБ РАДИАТОРА СИСТЕМА ОХЛАЖДЕНИЯ
20
25
21
18
17
22
24
23
26
16
25
19
25
14
13
15
1
2
2
11
12
4
5
8
12
3
7
6
10
9
FIT
1:1
100%

Артикул

Название

Примечание

Количество

1

208-03-61181

HOSE

2

07289-00070

CLAMP

3

207-03-51530

CLIP

4

01010-81230

BOLT

5

01643-31232

WASHER

6

207-03-31160

CONNECTOR

7

207-03-31271

GASKET

8

07042-30312

PLUG

9

01010-81025

BOLT

10

01643-51032

WASHER

11

208-03-61190

HOSE

12

07289-00070

CLAMP

13

09483-00307

HOSE

14

07281-00197

CLAMP

15

08034-00834

STRAP, TIE

16

20Y-06-15240

TANK ASSEMBLY, RECOVERY

17

205-03-71532

CAP, RECOVERY TANK

18

207-03-64190

BRACKET, TANK MOUNTING

19

20Y-03-11361

STRAP

20

01580-10806

NUT

21

01643-30823

WASHER

22

01010-81230

BOLT

23

01643-31232

WASHER

24

208-03-58310

HOSE

25

206-03-43340

CLIP

26

208-03-61230

HOSE

Выбрано товаров: 26