Запчасти Komatsu PC400LC-6Z КОВШ¤ .M¤ 9MM (УСИЛ.) (С РЕГУЛИРОВКОЙ) РАБОЧЕЕ ОБОРУДОВАНИЕ

Схема запчастей Komatsu PC400LC-6Z - КОВШ¤ .M¤ 9MM (УСИЛ.) (С РЕГУЛИРОВКОЙ) РАБОЧЕЕ ОБОРУДОВАНИЕ
FIT
1:1
100%

Артикул

Название

Примечание

Количество

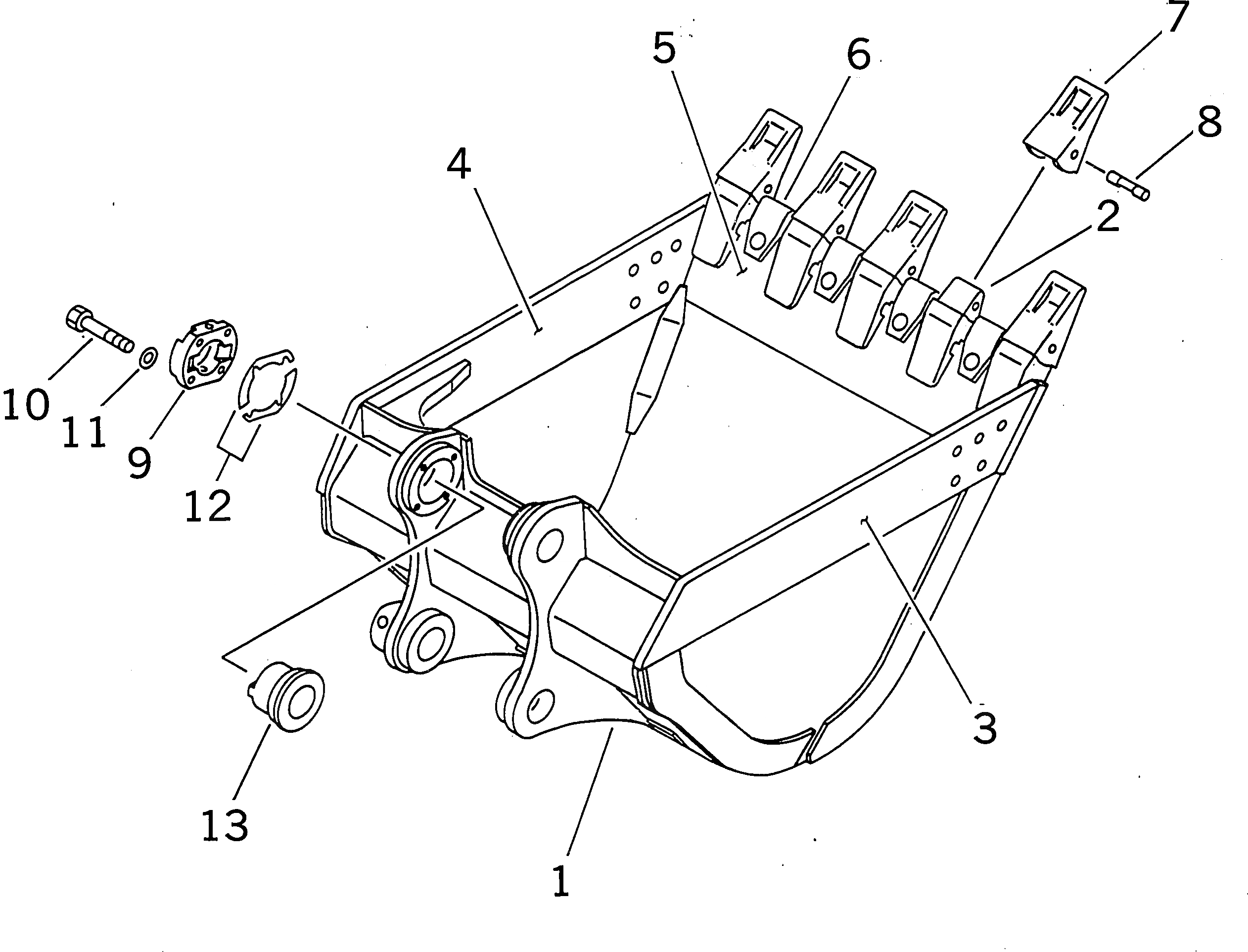
1

208-934-5110

BUCKET

2

208-934-5120

ADAPTER (WELDED)

3

208-934-5131

ADAPTER,L.H. (WELDED)

4

208-934-5141

PLATE,R.H. (WELDED)

5

208-934-5150

PLATE (WELDED)

6

208-934-5170

SHROUD (WELDED)

7

208-70-14152

TOOTH

8

09244-03036

PIN

9

208-70-34240

COVER

10

01010-32470

BOLT

11

01643-32460

WASHER

12

208-70-00081

SHIM ASS'Y

12

208-70-00080

SHIM ASS'Y

12

SHIM, 1.0MM

12

SHIM, 1.0MM

12

SHIM, 0.5MM

13

208-70-34230

BUSHING

Выбрано товаров: 17