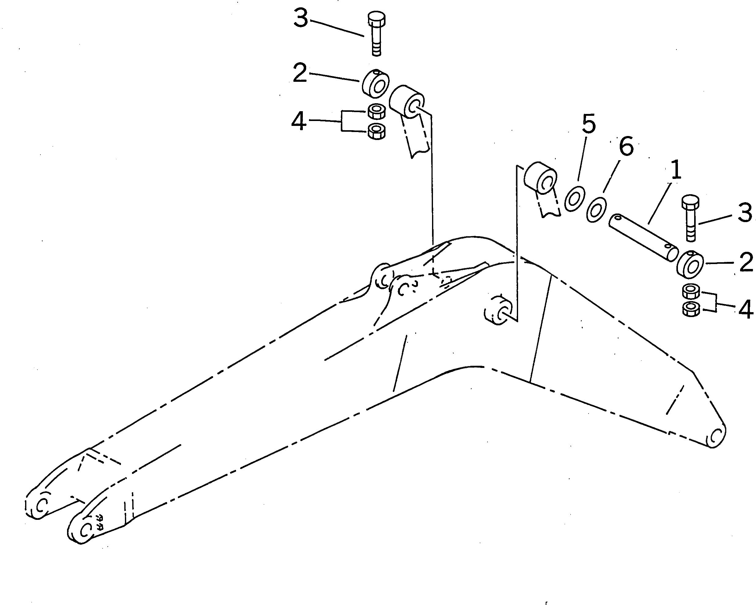
Запчасти Komatsu PC400LC-6Z ЦИЛИНДР СТРЕЛЫВЕРХН. ПАЛЕЦ(№-) РАБОЧЕЕ ОБОРУДОВАНИЕ

Схема запчастей Komatsu PC400LC-6Z - ЦИЛИНДР СТРЕЛЫВЕРХН. ПАЛЕЦ(№-) РАБОЧЕЕ ОБОРУДОВАНИЕ
FIT
1:1
100%

Артикул

Название

Примечание

Количество

1

208-70-61860

PIN

|1

208-70-31172

PIN

2

208-70-31242

PLATE

3

207-70-13340

BOLT

4

01580-12419

NUT

5

208-70-31340

SPACER¤ 0.8MM

|5

208-70-31340

SPACER¤ 0.8MM

6

208-70-51320

SPACER¤ 1.5MM

|6

208-70-51320

SPACER¤ 1.5MM

Выбрано товаров: 0