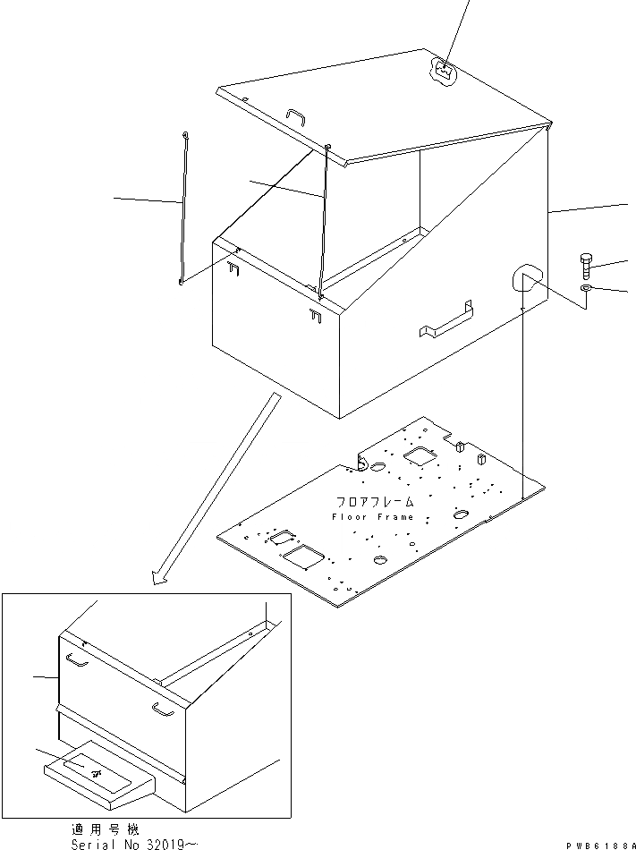
Запчасти Komatsu PC400LC-6Z ПОКРЫТИЕ НИЖН. ЧАСТИ КАБИНЫ(№-) КАБИНА ОПЕРАТОРА И СИСТЕМА УПРАВЛЕНИЯ

Схема запчастей Komatsu PC400LC-6Z - ПОКРЫТИЕ НИЖН. ЧАСТИ КАБИНЫ(№-) КАБИНА ОПЕРАТОРА И СИСТЕМА УПРАВЛЕНИЯ
1
1
2
3
4
5
5
6
FIT
1:1
100%

Артикул

Название

Примечание

Количество

1

20Y-54-29790

COVER

2

09460-00002

LOCK

3

01010-81220

BOLT

3

01010-51220

BOLT

4

01643-31232

WASHER

5

208-54-38280

BAR

6

154-54-23260

SEAT

Выбрано товаров: 7