Качественные детали и логистика
Оригинальные и аналоговые запчасти с доставкой по России, Казахстану и Беларуси
©2022 PartSell ООО "Система" ИНН 2463123282 ОГРН 1212400004838
Центральный офис: г. Красноярск, Академика Киренского, д.87, пом.4
Телефон: 8 (800) 777-65-74 Email: zakaz@partsell.ru
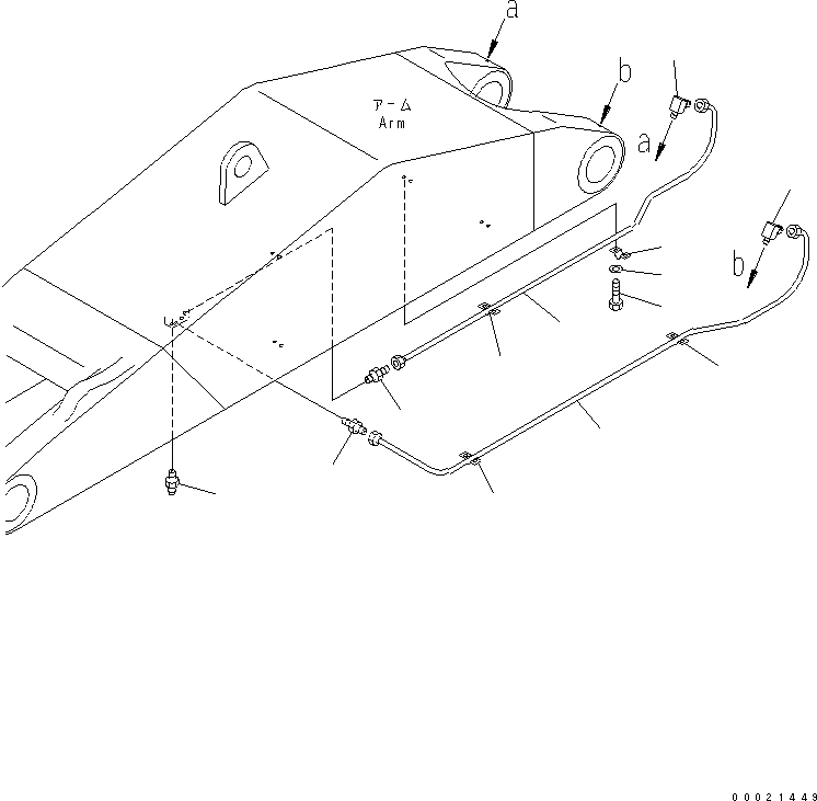
РУКОЯТЬ (СИСТЕМА СМАЗКИ) (ПОГРУЗ.)
№
Артикул
Название
Примечание
Количество
1
208-72-72610
TUBE
2
208-72-72620
3
20Y-70-11540
CONNECTOR
4
07020-00000
FITTING
5
20Y-25-11270
ELBOW
6
04434-50812
CLIP
7
01010-81220
BOLT
8
01643-31232
WASHER
Выбрано товаров: 0