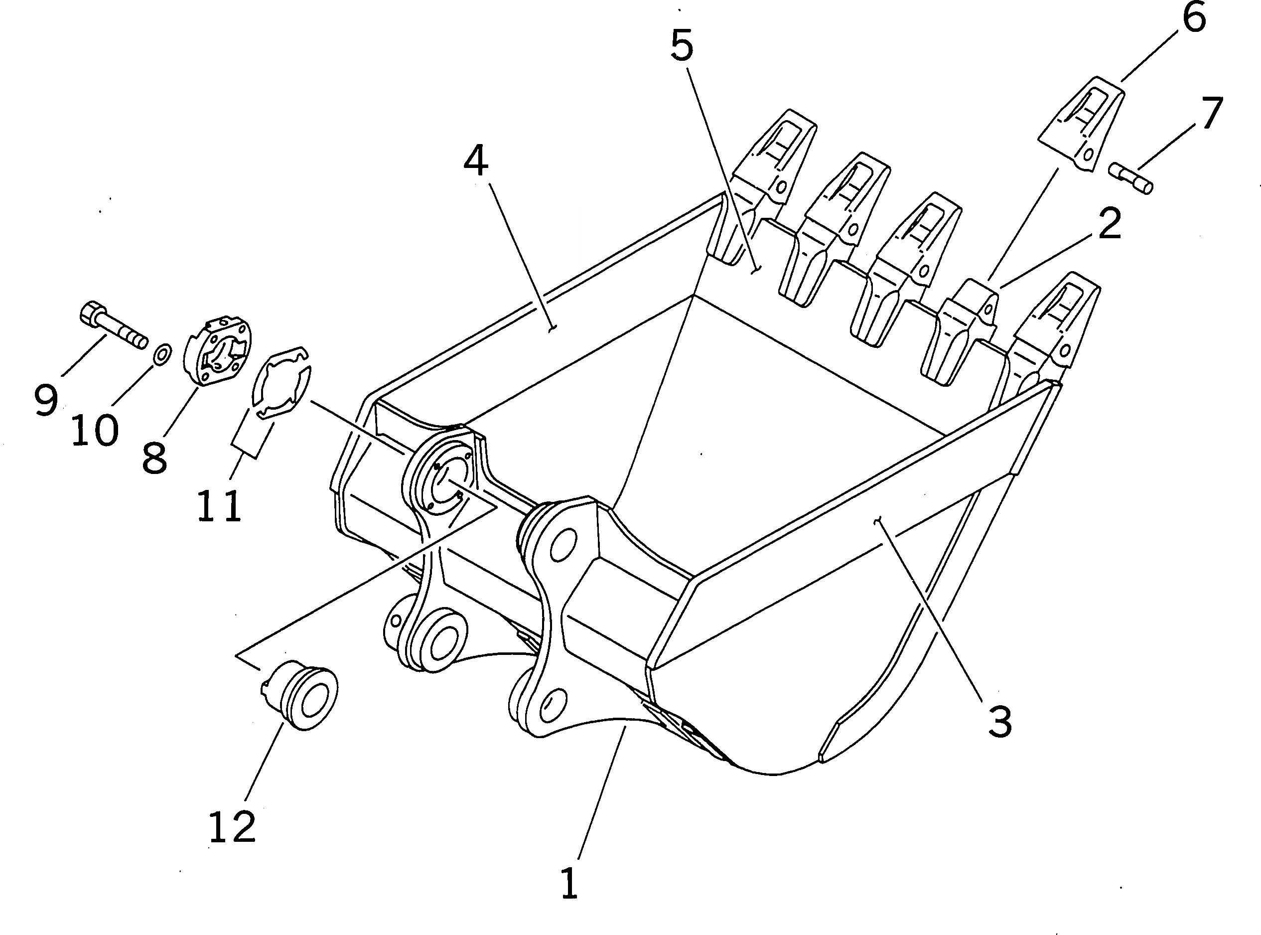
Запчасти Komatsu PC400LC-7-M1 КОВШ¤ .M¤ 7MM (ГОРИЗОНТАЛЬН. ПАЛЕЦ) (С РЕГУЛИРОВКОЙ) РАБОЧЕЕ ОБОРУДОВАНИЕ

Схема запчастей Komatsu PC400LC-7-M1 - КОВШ¤ .M¤ 7MM (ГОРИЗОНТАЛЬН. ПАЛЕЦ) (С РЕГУЛИРОВКОЙ) РАБОЧЕЕ ОБОРУДОВАНИЕ
FIT
1:1
100%

Артикул

Название

Примечание

Количество

1

208-920-5410

BUCKET

2

208-939-3120

ADAPTER (WELDED)

3

208-920-5221

PLATE,L.H. (WELDED)

4

208-920-5231

PLATE,R.H. (WELDED)

5

208-920-5240

PLATE (WELDED)

6

208-70-14152

TOOTH

7

09244-03036

PIN

8

208-70-34240

COVER

9

01010-62470

BOLT

10

01643-32460

WASHER

11

208-70-00080

SHIM ASS'Y

|11

SHIM¤ 1.0MM

|11

SHIM¤ 0.5MM

12

208-70-34230

BUSHING

Выбрано товаров: 0