/ / / / / / КОВШ¤ .M¤ 7MM (ВЕРТИКАЛЬН. ПАЛЕЦ) (С РЕГУЛИРОВКОЙ)
Запчасти Komatsu PC400LC-7-M1 КОВШ¤ .M¤ 7MM (ВЕРТИКАЛЬН. ПАЛЕЦ) (С РЕГУЛИРОВКОЙ) РАБОЧЕЕ ОБОРУДОВАНИЕ
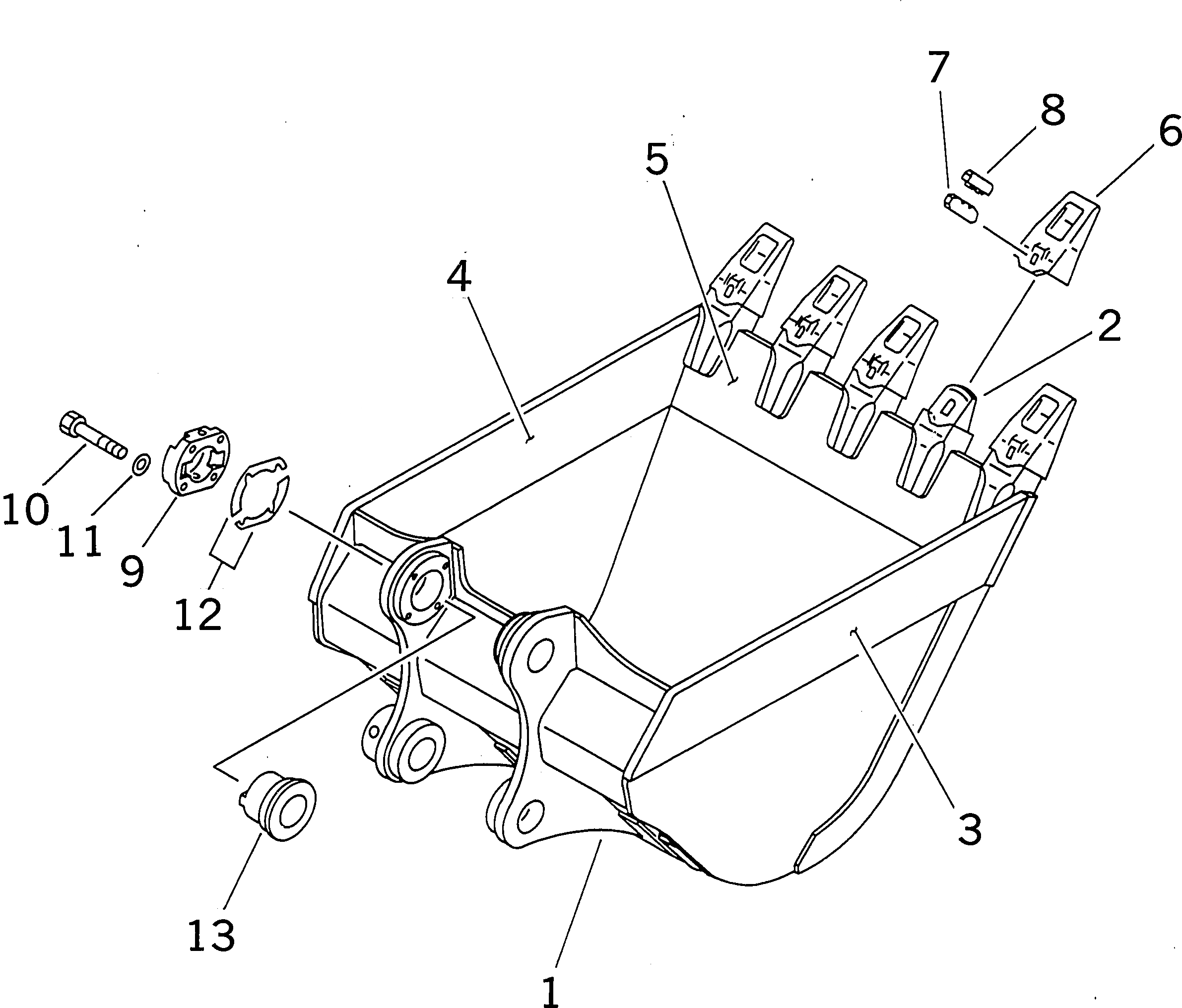
1
208-920-5210
BUCKET
2
208-70-34150
ADAPTER (WELDED)
3
208-920-5221
PLATE,L.H. (WELDED)
4
208-920-5231
PLATE,R.H. (WELDED)
5
208-920-5240
PLATE (WELDED)
6
208-70-34211
TOOTH
7
208-70-34220
PIN
8
208-70-34191
LOCK
9
208-70-34240
COVER
10
01010-62470
BOLT
11
01643-32460
WASHER
12
208-70-00080
SHIM ASS'Y
|12
SHIM¤ 1.0MM
|12
SHIM¤ 0.5MM
13
208-70-34230
BUSHING
Выбрано товаров: 0