Запчасти Komatsu PC400LC-7 СТРЕЛА (ЛАМПА РАБОЧ. ОСВЕЩЕНИЯ И УПЛОТНЕНИЯ) (СПЕЦ-Я -40С)(№-) РАБОЧЕЕ ОБОРУДОВАНИЕ

Схема запчастей Komatsu PC400LC-7 - СТРЕЛА (ЛАМПА РАБОЧ. ОСВЕЩЕНИЯ И УПЛОТНЕНИЯ) (СПЕЦ-Я -40С)(№-) РАБОЧЕЕ ОБОРУДОВАНИЕ
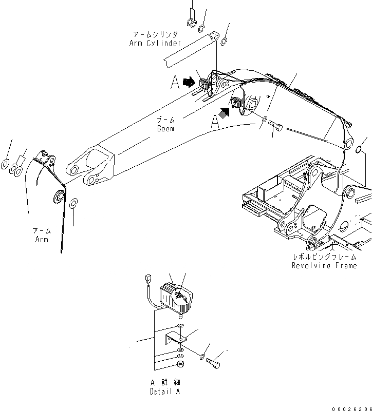
1
1
2
3
4
5
6
7
7
8
9
10
11
12
12
13
14
14
15
FIT
1:1
100%

Артикул

Название

Примечание

Количество

1

17A-06-17920

WORKING LAMP ASS'Y

2

17A-06-17970

BULB, 70W

3

17A-06-17980

SLEEVE

4

20Y-06-21551

BRACKET

4

203-06-21290

PLATE

5

01010-81430

BOLT

6

01643-31445

WASHER

7

21T-38-12270

CLIP

7

04434-51012

CLIP

8

01010-81220

BOLT

9

01643-31232

WASHER

10

208-06-71420

WIRING HARNESS

11

07145-10120

SEAL

12

421-70-11451

SHIM, 1.5MM

13

208-70-31310

SPACER, 0.8MM

14

207-70-11370

SPACER, 1.5MM

15

207-70-11360

SPACER, 1.0MM

Выбрано товаров: 17