Качественные детали и логистика
Оригинальные и аналоговые запчасти с доставкой по России, Казахстану и Беларуси
©2022 PartSell ООО "Система" ИНН 2463123282 ОГРН 1212400004838
Центральный офис: г. Красноярск, Академика Киренского, д.87, пом.4
Телефон: 8 (800) 777-65-74 Email: zakaz@partsell.ru
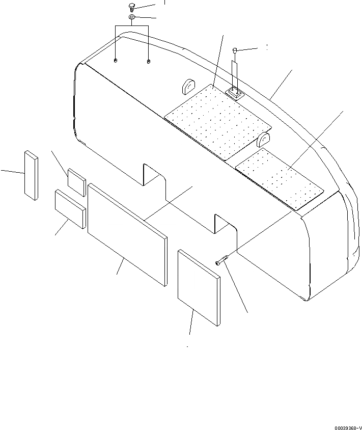
ПРОТИВОВЕС (9KG)(№-)
№
Артикул
Название
Примечание
Количество
1
208-46-79110
WEIGHT
2
208-46-79120
PLATE (WELDED)
3
208-46-79130
4
208-46-74170
SHEET
5
208-46-74180
6
208-46-74150
7
208-46-74190
8
208-46-74270
9
01370-00508
SCREW
10
01010-81220
BOLT
11
01643-31232
WASHER
12
07049-01215
PLUG
Выбрано товаров: 0