Качественные детали и логистика
Оригинальные и аналоговые запчасти с доставкой по России, Казахстану и Беларуси
©2022 PartSell ООО "Система" ИНН 2463123282 ОГРН 1212400004838
Центральный офис: г. Красноярск, Академика Киренского, д.87, пом.4
Телефон: 8 (800) 777-65-74 Email: zakaz@partsell.ru
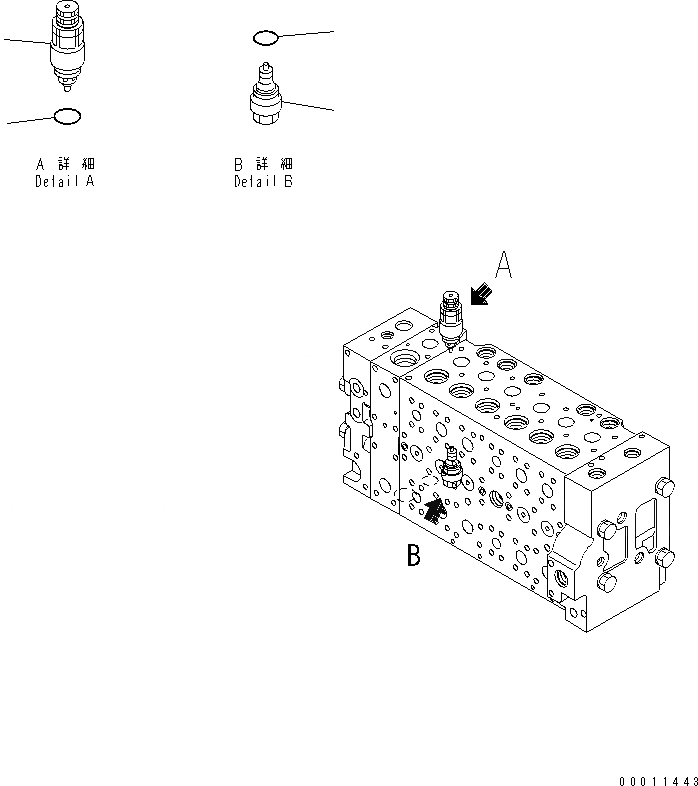
ОСНОВН. КЛАПАН (9/)
№
Артикул
Название
Примечание
Количество
|$3
723-47-27502
CONTROL VALVE
|$4
723-47-27501
|$5
723-47-27500
1
723-40-85100
VALVE ASS'Y,SUCTION
2
709-25-11390
O-RING
3
723-40-91200
VALVE ASS'Y,SUCTION AND SAFETY
4
Выбрано товаров: 0