Запчасти Komatsu PC400LC-7L ТОПЛИВН. БАК. ТОПЛИВН. БАК. AND КОМПОНЕНТЫ

Схема запчастей Komatsu PC400LC-7L - ТОПЛИВН. БАК. ТОПЛИВН. БАК. AND КОМПОНЕНТЫ
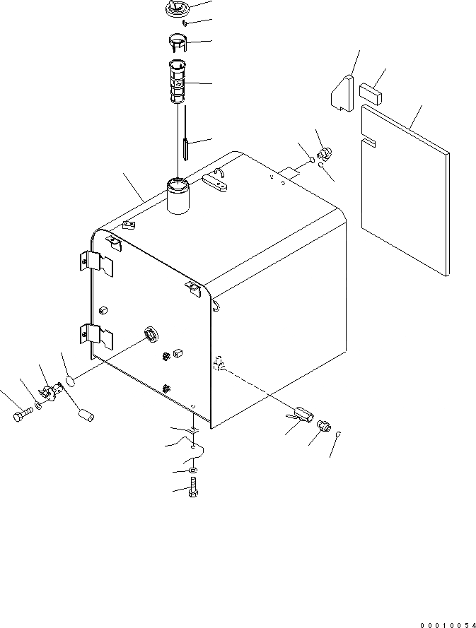
1
2
3
4
5
6
7
8
9
10
11
12
13
14
15
16
17
18
19
20
21
22
FIT
1:1
100%

Артикул

Название

Примечание

Количество

1

208-04-71112

TANK

2

07700-40460

VALVE

3

8255-62-4591

CONNECTOR

4

02896-11012

O-RING

5

02782-10315

ELBOW

6

02896-11009

O-RING

7

07002-12034

O-RING

8

20Y-04-11160

CAP

9

7861-92-5810

SENSOR

10

07000-13050

O-RING

11

01010-80612

BOLT

12

01643-30623

WASHER

|$22

22U-04-21241

STRAINER ASS'Y

|$23

22U-04-21200

FLOAT ASS'Y

13

22U-04-21210

GUIDE

14

20Y-04-21580

CAP

15

22U-04-21220

FLOAT

16

07056-18425

STRAINER

17

208-04-71220

SHEET

18

208-04-71230

SHEET

19

208-04-71241

SHEET

20

01010-81635

BOLT

21

01643-31645

WASHER

22

195-03-11570

SHIM¤ 1.0MM

Выбрано товаров: 0