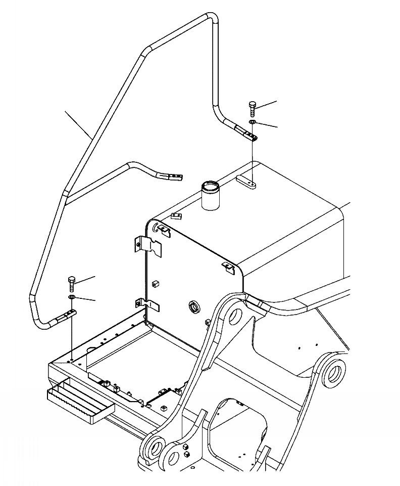
Запчасти Komatsu PC400LC-8 M-A HANDRAIL ЧАСТИ КОРПУСА
2
1
3
2
3
FIT
1:1
100%
№
Артикул
Название
Примечание
Количество
1
207-54-75220
HANDRAIL
2
01010-81240
BOLT
3
01643-31232
WASHER
Выбрано товаров: 3
№
Артикул
Название
Примечание
Количество
1
207-54-75220
HANDRAIL
2
01010-81240
BOLT
3
01643-31232
WASHER
Выбрано товаров: 3