Запчасти Komatsu PC400LC ТОПЛ. БАК И ТОПЛИВОПРОВОД КОМПОНЕНТЫ ДВИГАТЕЛЯ И ЭЛЕКТРИКА

Схема запчастей Komatsu PC400LC - ТОПЛ. БАК И ТОПЛИВОПРОВОД КОМПОНЕНТЫ ДВИГАТЕЛЯ И ЭЛЕКТРИКА
FIT
1:1
100%

Артикул

Название

Примечание

Количество

|$0

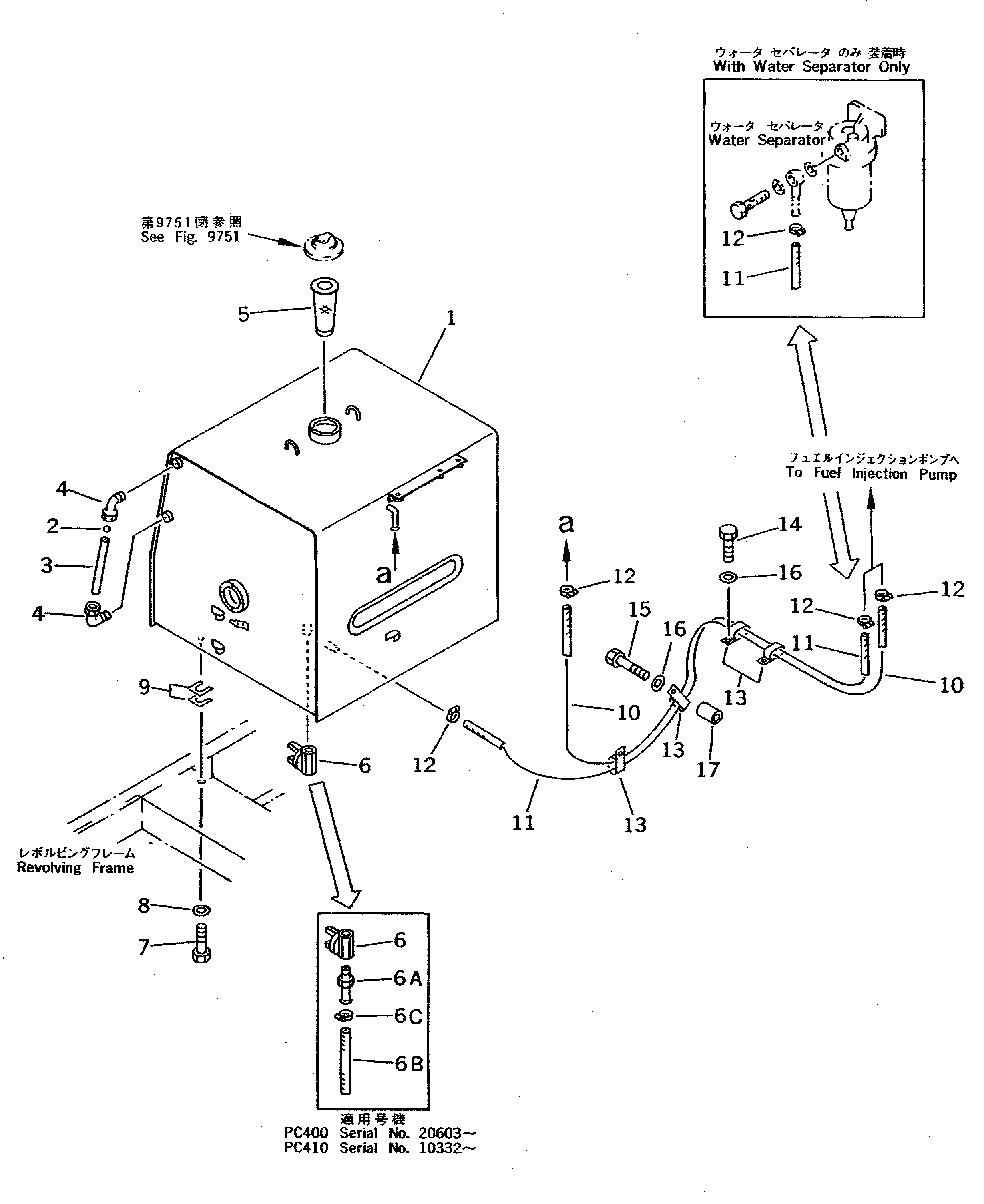
208-04-00101

FUEL TANK ASS'Y

|$1

208-04-00100

FUEL TANK ASS'Y

1

TANK

1

TANK

2

208-04-19160

BALL

3

207-04-51120

TUBE

4

208-04-19130

ELBOW

5

07056-18416

STRAINER

6

07700-50240

VALVE

6

20Y-04-11130

VALVE

6A

154-04-11540

NIPPLE

6B

07288-01001

HOSE

6C

07281-00197

CLAMP

7

01010-51635

BOLT

8

01643-31645

WASHER

9

195-03-11570

SHIM, 1.0MM

10

07288-01025

HOSE

10

07288-01040

HOSE

11

07288-01019

HOSE

11

07288-01031

HOSE

11

07288-01022

HOSE,(WITH WATER SEPARATOR ONLY)

12

07281-00197

CLAMP

13

209-06-12190

CLIP

14

01010-51225

BOLT

15

01010-51265

BOLT

16

01643-31232

WASHER

17

205-03-71331

COLLAR

Выбрано товаров: 27