Запчасти Komatsu PC400LC ЭЛЕКТРИКА (КОНДИЦ. ВОЗДУХА)(№-) ЧАСТИ КОРПУСА

Схема запчастей Komatsu PC400LC - ЭЛЕКТРИКА (КОНДИЦ. ВОЗДУХА)(№-) ЧАСТИ КОРПУСА
FIT
1:1
100%

Артикул

Название

Примечание

Количество

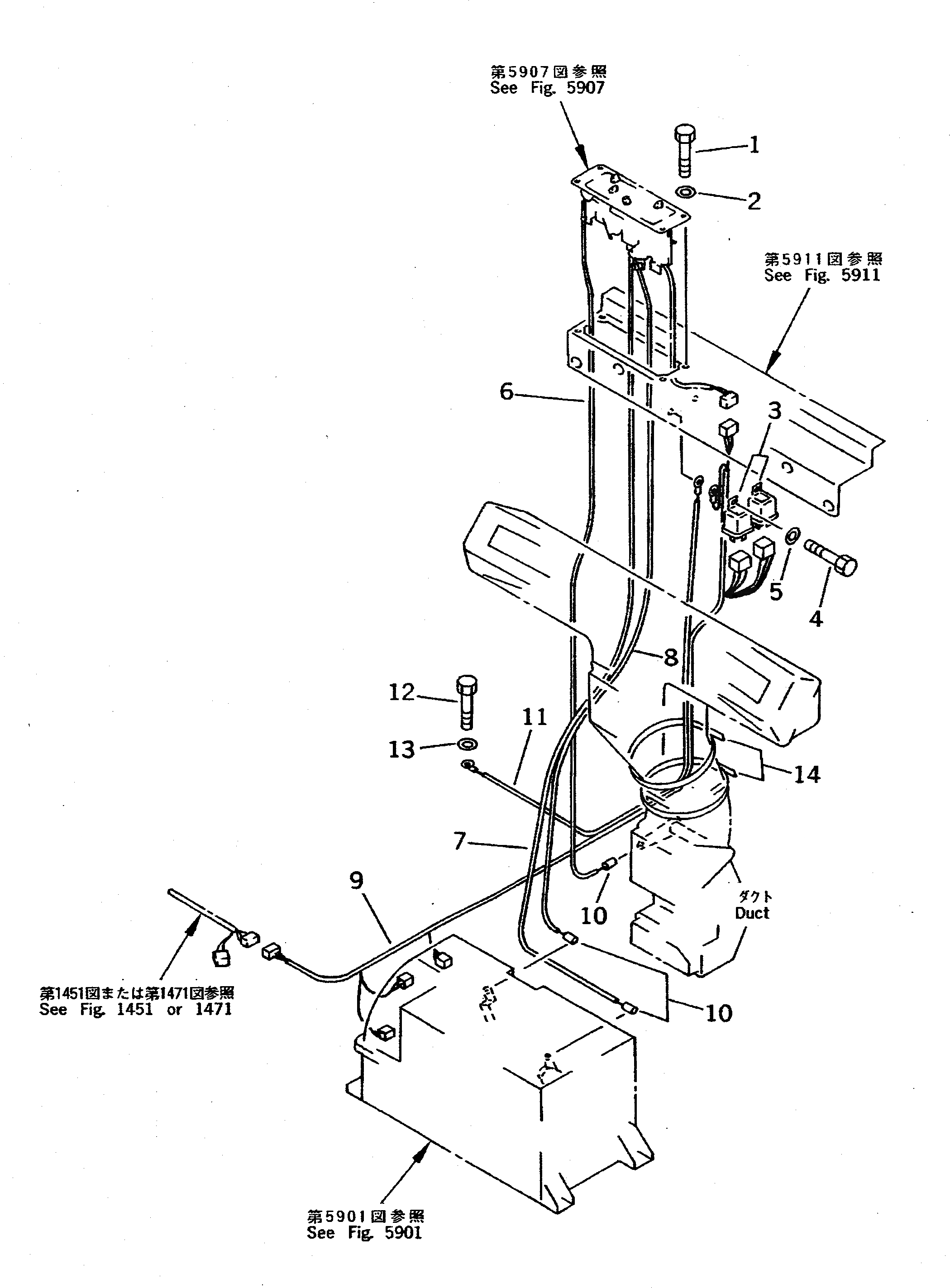
G-1

208-979-X110

AIR CONDITIONER G.

1

01010-50816

BOLT

2

01643-30823

WASHER

3

205-979-6460

RELAY ASS'Y

4

01010-50816

BOLT

5

01643-30823

WASHER

6

205-979-1170

CABLE

7

205-979-1160

CABLE

8

205-979-1150

CABLE

9

205-979-1330

WIRING HARNESS

10

195-979-4160

BUSHING

11

20Y-979-1520

WIRING HARNESS

12

01010-50812

BOLT

13

01643-30823

WASHER

14

08034-20876

BAND

Выбрано товаров: 0