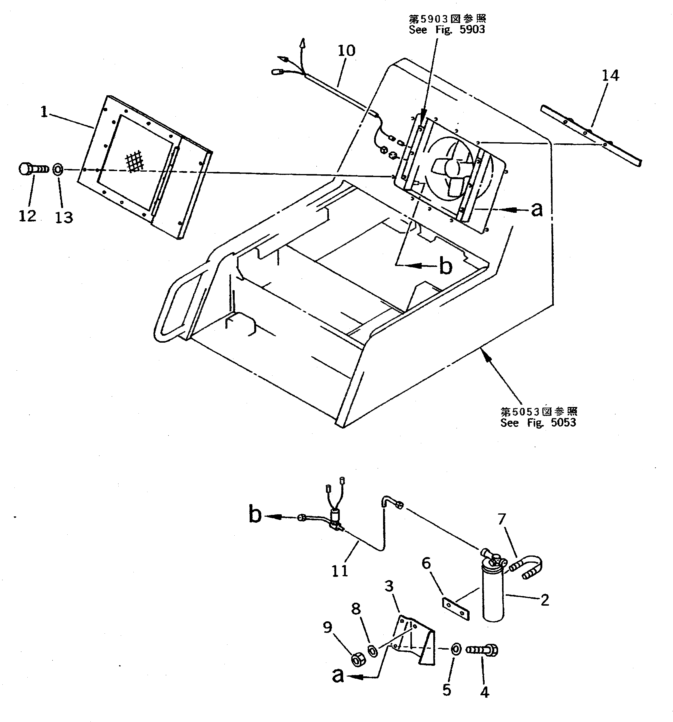
Запчасти Komatsu PC400LC КОНДЕНСАТОР КОМПОНЕНТЫ (КОНДИЦ. ВОЗДУХА)(№-) ЧАСТИ КОРПУСА

Схема запчастей Komatsu PC400LC - КОНДЕНСАТОР КОМПОНЕНТЫ (КОНДИЦ. ВОЗДУХА)(№-) ЧАСТИ КОРПУСА
FIT
1:1
100%

Артикул

Название

Примечание

Количество

1

207-979-5210

COVER

2

198-911-4610

TANK,RECEIVER

2

145-Z79-4860

BOLT

3

20Y-979-1230

BRACKET

4

01010-50820

BOLT

5

01643-30823

WASHER

6

565-95-21360

SEAT

7

205-979-1230

CLIP

8

01643-31032

WASHER

9

01599-01011

NUT

10

20Y-979-1510

WIRING HARNESS

11

20Y-979-1220

TUBE

12

01010-50840

BOLT

13

01643-30823

WASHER

14

207-979-5350

PLATE (WELDED)

Выбрано товаров: 15