Запчасти Komatsu PC400LC CROSS КЛАПАН (С ДОПОЛН. ГИДРОЛИНИЕЙ) УПРАВЛ-Е РАБОЧИМ ОБОРУДОВАНИЕМ

Схема запчастей Komatsu PC400LC - CROSS КЛАПАН (С ДОПОЛН. ГИДРОЛИНИЕЙ) УПРАВЛ-Е РАБОЧИМ ОБОРУДОВАНИЕМ
FIT
1:1
100%

Артикул

Название

Примечание

Количество

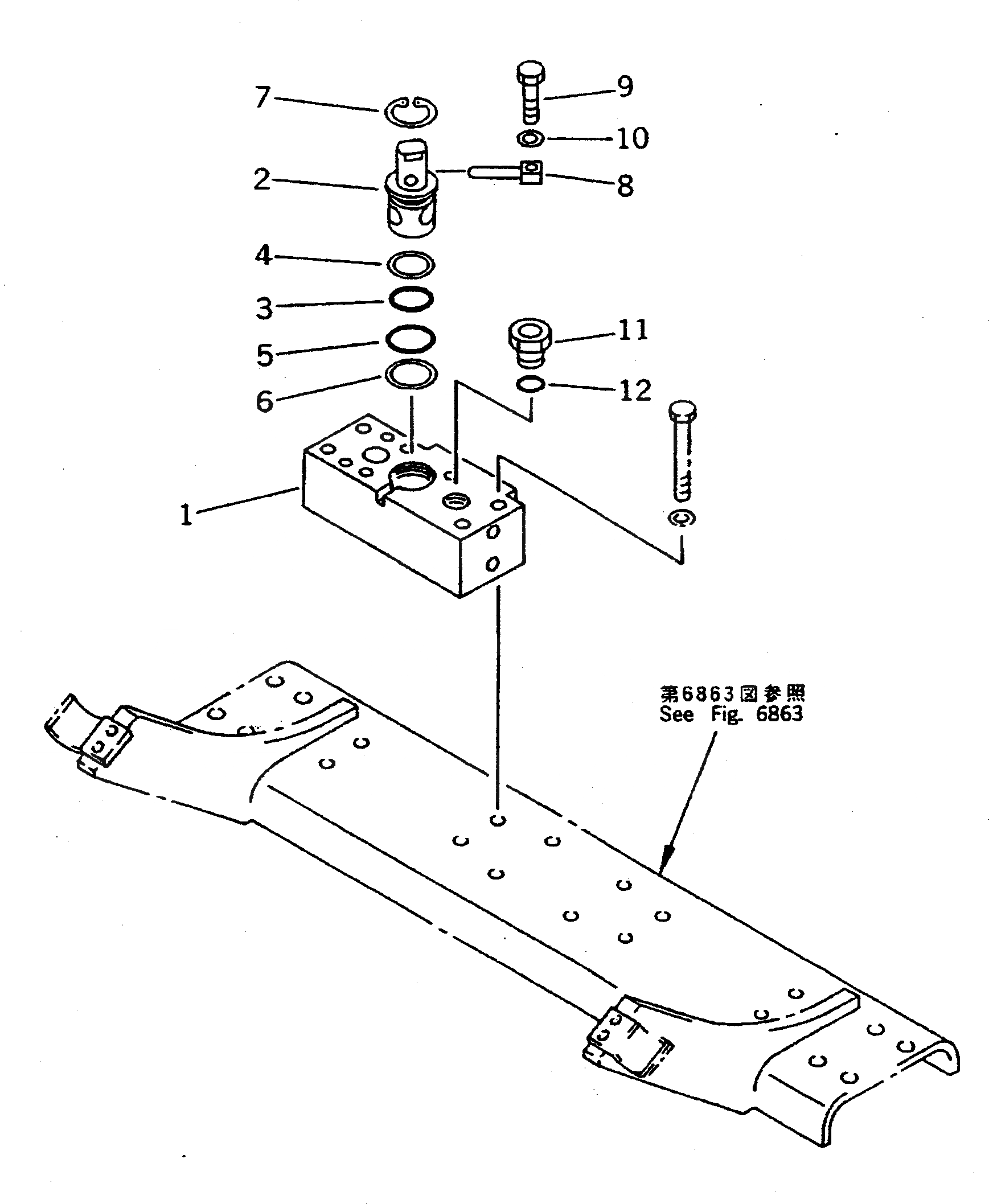
G-1

208-970-X110

PIPING KIT,ATT

|$2

207-970-0011

ROTARY VALVE ASS'Y

1

207-970-3311

BLOCK

2

207-970-1630

SHAFT

3

07000-13042

O-RING

4

07001-03042

RING

5

07000-13048

O-RING

6

07001-03048

RING,BACK-UP

7

04065-05220

RING,SNAP

8

202-970-2210

PIN

9

01010-51230

BOLT

10

01643-31232

WASHER

11

07040-12412

PLUG

12

07002-12434

O-RING

Выбрано товаров: 14