Запчасти Komatsu PC400LC ЭЛЕКТРОПРОВОДКА В КАБИНЕ (КОРПУС КОНТРОЛЛЕРА) (ДЛЯ WRIST УПРАВЛ-Е) КОМПОНЕНТЫ ДВИГАТЕЛЯ И ЭЛЕКТРИКА

Схема запчастей Komatsu PC400LC - ЭЛЕКТРОПРОВОДКА В КАБИНЕ (КОРПУС КОНТРОЛЛЕРА) (ДЛЯ WRIST УПРАВЛ-Е) КОМПОНЕНТЫ ДВИГАТЕЛЯ И ЭЛЕКТРИКА
FIT
1:1
100%

Артикул

Название

Примечание

Количество

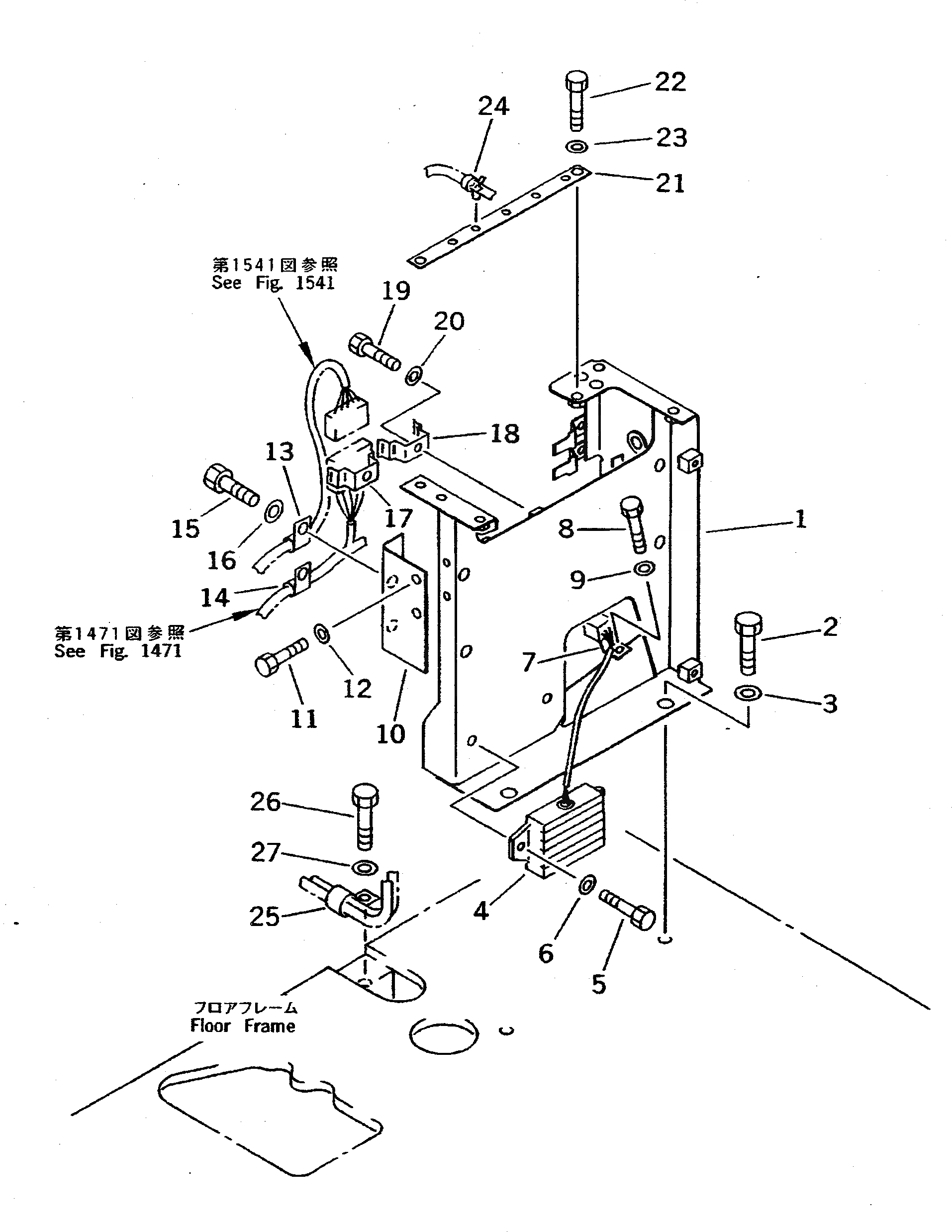
G-1

208-06-X2300

CAB HARNESS GROUP

1

20Y-06-16221

BRACKET

2

01010-51225

BOLT

3

01643-31232

WASHER

4

7827-11-1520

RESISTOR

5

01010-50816

BOLT

6

01643-30823

WASHER

7

08053-01512

CLIP

8

01010-51020

BOLT

9

01643-31032

WASHER

10

20Y-06-16520

STAY

11

01010-50820

BOLT

12

01643-30823

WASHER

13

08035-02514

CLIP

14

08035-02514

CLIP

15

01010-51220

BOLT

16

01643-31232

WASHER

17

08053-16212

CLIP

17

7821-92-5310

BRACKET

18

08053-15012

CLIP

18

7821-92-5410

BRACKET

19

01010-50816

BOLT

20

01643-30823

WASHER

21

20Y-06-16261

PLATE

22

01010-50816

BOLT

23

01643-30823

WASHER

24

20Y-06-16250

CLIP

25

141-06-11220

CLIP

26

01010-51220

BOLT

27

01643-31232

WASHER

Выбрано товаров: 30