Запчасти Komatsu PC400LC ДОПОЛН. ГИДРОЛИНИЯ (НАВЕСН. ОБОРУД) (СТРЕЛА) РАБОЧЕЕ ОБОРУДОВАНИЕ (ЭКСКАВАТ.)

Схема запчастей Komatsu PC400LC - ДОПОЛН. ГИДРОЛИНИЯ (НАВЕСН. ОБОРУД) (СТРЕЛА) РАБОЧЕЕ ОБОРУДОВАНИЕ (ЭКСКАВАТ.)
FIT
1:1
100%

Артикул

Название

Примечание

Количество

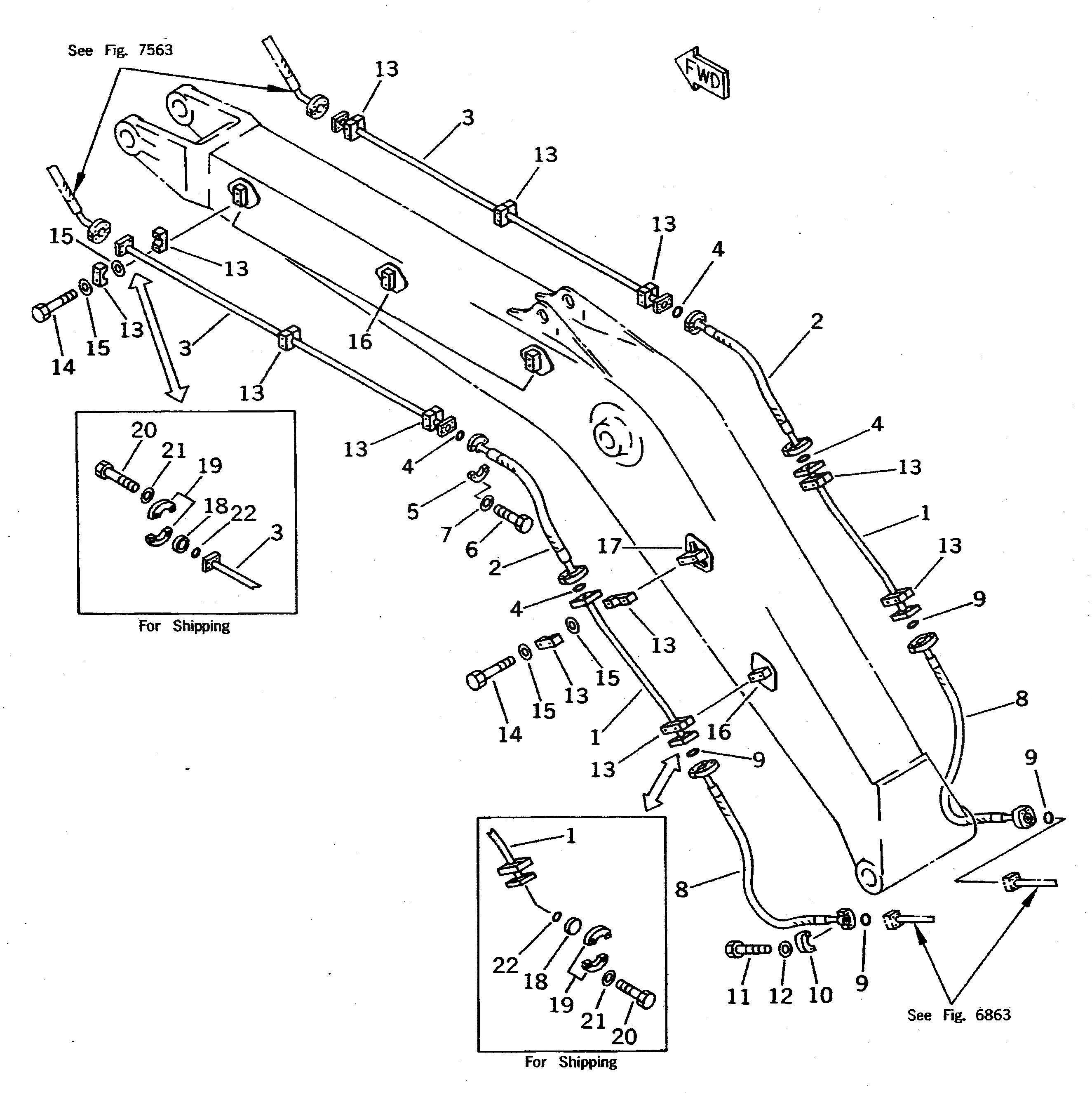
G-1

208-970-X110

PIPING KIT

1

208-970-5120

TUBE

2

07099-01221

HOSE

3

208-970-3180

TUBE

4

07000-13038

O-RING

5

07371-51260

FLANGE

6

01010-51245

BOLT

7

01643-31232

WASHER

8

07099-01216

HOSE

9

07000-13038

O-RING

10

07371-51260

FLANGE

11

01010-51245

BOLT

12

01643-31232

WASHER

13

205-970-2232

CLAMP

14

01010-51285

BOLT

15

01643-31232

WASHER

16

207-970-5340

BRACKET (WELDED)

17

207-970-5420

BRACKET (WELDED)

18

07378-11210

HEAD

19

07371-51260

FLANGE

20

01010-51245

BOLT

21

01643-31232

WASHER

22

07000-13038

O-RING

Выбрано товаров: 0