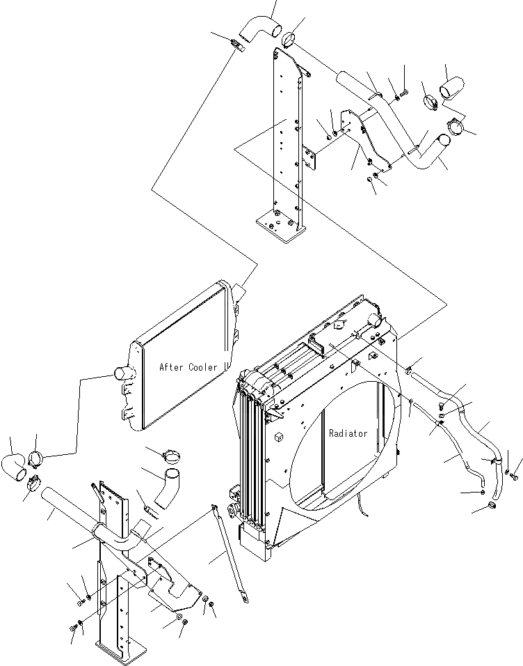
Запчасти Komatsu PC400LCSE-8R ОХЛАЖД-Е (ТРУБКИ ПОСЛЕОХЛАДИТЕЛЯ) C

Схема запчастей Komatsu PC400LCSE-8R - ОХЛАЖД-Е (ТРУБКИ ПОСЛЕОХЛАДИТЕЛЯ) C
16
17
17
22
27
21
14
23
20
24
15
22
20
15
19
18
21
10
7
8
9
28
5
13
26
6
12
11
25
4
26
5
28
10
31
29
31
1
3
2
30
33
32
33
35
32
34
FIT
1:1
100%

Артикул

Название

Примечание

Количество

1

208-03-75461

STAY

|$2

208-03-75460

STAY

2

01010-81650

BOLT

|$4

01010-81645

BOLT

3

01643-31645

WASHER

4

09483-10308

HOSE

5

11Y-09-11140

CLIP

6

04434-51712

CLIP

7

01010-81225

BOLT

8

01643-31232

WASHER

9

07261-22012

HOSE

10

07281-00359

CLAMP

11

04434-53212

CLIP

12

01010-81225

BOLT

13

01643-31232

WASHER

14

208-03-76630

HOSE

15

207-01-75340

CLAMP

16

208-03-75491

HOSE

17

207-01-75340

CLAMP

18

208-03-75510

TUBE

19

208-03-77130

BRACKET

20

07283-37663

CLIP

21

01597-01009

NUT

22

01643-31032

WASHER

23

01010-81230

BOLT

24

01643-31232

WASHER

25

208-03-76660

HOSE

26

207-01-75340

CLAMP

27

208-03-76650

HOSE

28

207-01-75340

CLAMP

29

208-03-75550

TUBE

30

208-03-76670

BRACKET

31

07283-37663

CLIP

32

01597-01009

NUT

33

01643-31032

WASHER

34

01010-81225

BOLT

35

01643-31232

WASHER

Выбрано товаров: 37