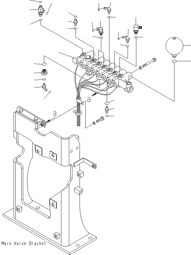
Запчасти Komatsu PC400LCSE-8R СОЛЕНОИДНЫЙ КЛАПАН (КЛАПАН) H

Схема запчастей Komatsu PC400LCSE-8R - СОЛЕНОИДНЫЙ КЛАПАН (КЛАПАН) H
5
6
12
11
10
2
13
7
8
9
13
3
13
4
13
13
13
22
1
23
18
17
21
19
16
20
14
15
FIT
1:1
100%

Артикул

Название

Примечание

Количество

1

207-60-71311

VALVE ASS'Y

2

21W-62-42490

ELBOW

3

208-62-71750

ELBOW

4

02896-11008

O-RING

5

02783-10210

ELBOW

6

02896-11008

O-RING

7

21W-62-42490

ELBOW

8

02896-11009

O-RING

9

11Y-62-12130

NIPPLE

10

02896-11008

O-RING

11

11Y-62-12330

ELBOW

12

02896-11008

O-RING

13

07002-11423

O-RING

14

02781-00422

UNION

15

02896-11012

O-RING

16

07002-12034

O-RING

17

20Y-62-21940

FILTER ASS'Y

18

07002-12034

O-RING

19

21W-62-42490

ELBOW

20

02896-11009

O-RING

21

07002-11423

O-RING

22

22U-60-21331

ACCUMULATOR

|$23

22U-60-21330

ACCUMULATOR

23

07002-12034

O-RING

Выбрано товаров: 24