Запчасти Komatsu PC400LCSE-8R АККУМУЛЯТОРН. ОТСЕК M

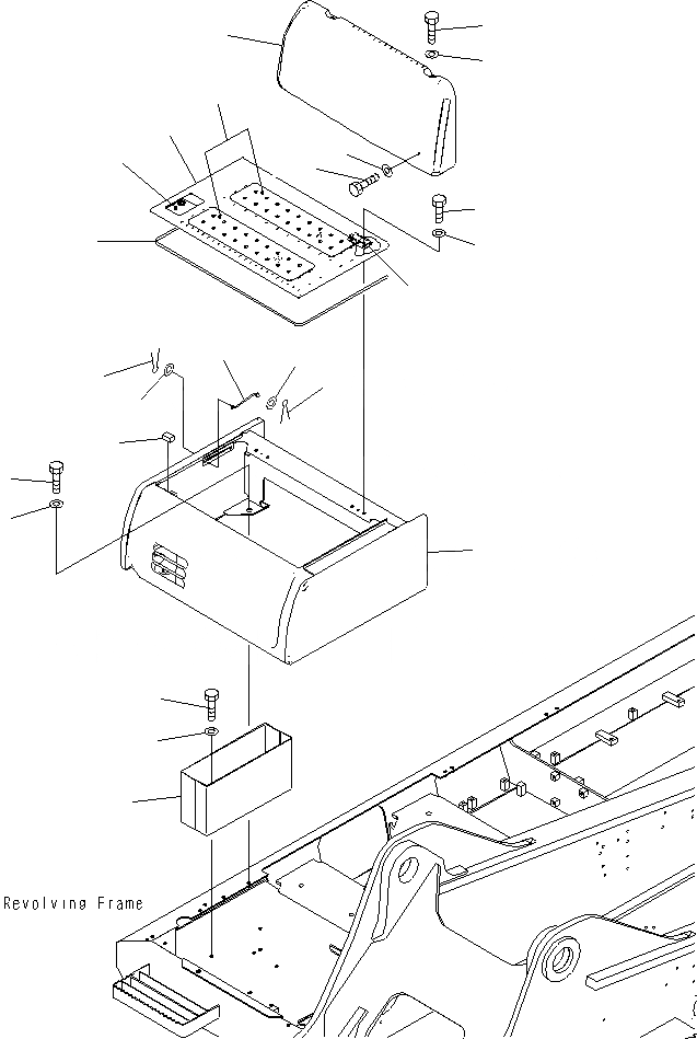
Схема запчастей Komatsu PC400LCSE-8R - АККУМУЛЯТОРН. ОТСЕК M
20
21
1
13
4
6
7
18
19
5
12
11
10
9
2
10
9
8
3
16
17
14
15
22
FIT
1:1
100%

Артикул

Название

Примечание

Количество

1

207-54-77451

COVER

2

203-54-56630

ROD

3

207-54-77421

COVER

|$4

207-54-77420

COVER

4

207-54-78820

COVER

5

20Y-54-74161

HINGE, (WELDED)

6

20Y-54-74172

LOCK, (WELDED)

7

208-54-71470

SEAL

8

20Y-54-29680

SHEET

9

01643-30623

WASHER

10

04050-11612

PIN, COTTER

11

01010-81020

BOLT

12

01643-31032

WASHER

13

209-00-41550

PLATE

14

01010-81230

BOLT

15

01643-31232

WASHER

16

01010-81230

BOLT

17

175-54-34170

WASHER

18

01010-81230

BOLT

19

175-54-34170

WASHER

20

01010-81230

BOLT

21

01643-31232

WASHER

22

207-54-77441

TOOL BOX

Выбрано товаров: 23