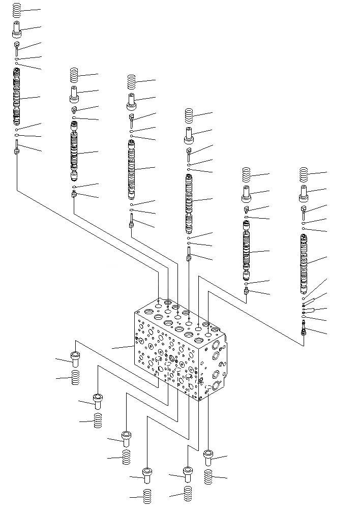
Запчасти Komatsu PC400LCSE-8R ОСНОВН. КЛАПАН ( ACTUTOR) (/) Y

Схема запчастей Komatsu PC400LCSE-8R - ОСНОВН. КЛАПАН ( ACTUTOR) (/) Y
18
16
8
10
15
22
18
16
17
2
9
21
8
10
15
10
17
10
15
8
7
8
10
4
21
15
19
10
17
17
9
5
15
8
9
10
10
10
8
15
15
10
3
6
8
15
10
14
9
13
12
11
1
16
18
16
22
16
16
20
17
17
18
19
21
FIT
1:1
100%

Артикул

Название

Примечание

Количество

|$1

723-48-27504

CONTROL VALVE

|$2

723-48-27503

CONTROL VALVE

|$3

723-48-27502

CONTROL VALVE

|$4

723-48-27501

CONTROL VALVE

|$5

THIS ASSEMBLY CONSISTS OF ALL PARTS

|$6

SHOWN IN FIGS.Y1664-01A0 TO Y1664-23A0.

1

723-46-09104

BODY SUB A.

|$8

723-46-09103

BODY SUB A.

|$9

BODY SUB ASS'Y

|$10

BLOCK, VALVE

|$11

BLOCK, VALVE

2

SPOOL

3

SPOOL

|$14

SPOOL

4

SPOOL

5

SPOOL

6

SPOOL

7

SPOOL

|$19

SPOOL

8

723-46-15130

PLUG

9

723-46-15140

PLUG

10

07002-10823

O-RING

11

PLUG

12

07002-11423

O-RING

13

SEAL

14

SEAL

15

708-7T-16460

BALL

16

723-46-15120

RETAINER

17

723-46-15690

RETAINER

18

723-46-14110

SPRING

|$31

723-46-14110

SPRING

19

723-46-14450

SPRING

20

723-46-14170

SPRING

21

723-46-14131

SPRING

|$35

723-46-14131

SPRING

22

723-46-14440

SPRING

Выбрано товаров: 0