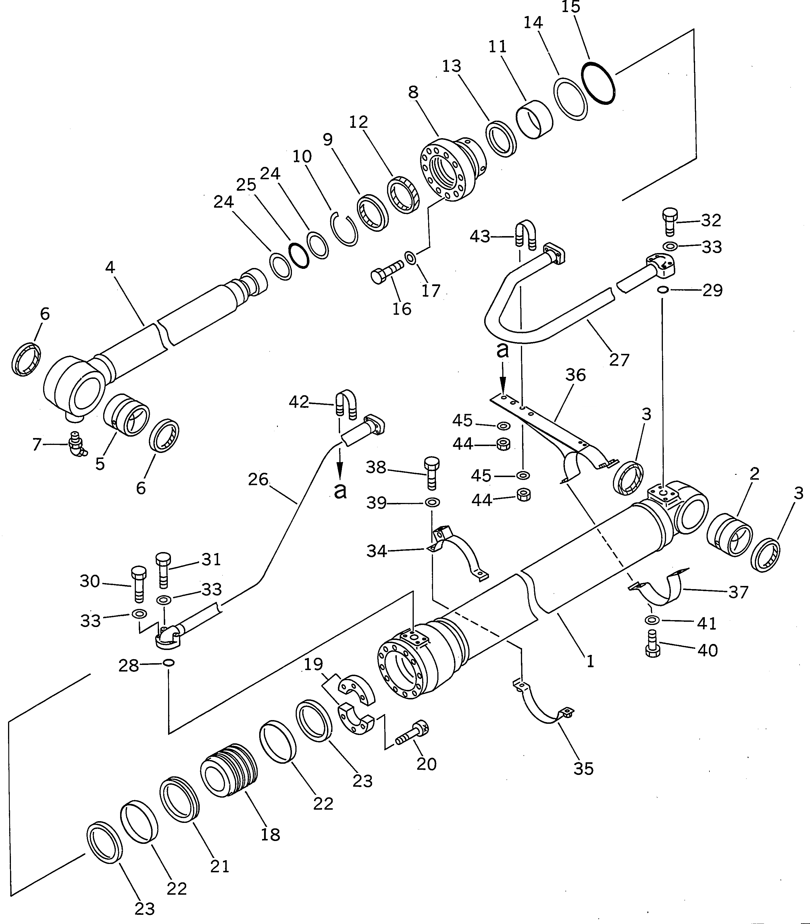
Запчасти Komatsu PC400ST-6LC ЦИЛИНДР КОВША (ПОГРУЗ.) ОСНОВН. КОМПОНЕНТЫ И РЕМКОМПЛЕКТЫ

Схема запчастей Komatsu PC400ST-6LC - ЦИЛИНДР КОВША (ПОГРУЗ.) ОСНОВН. КОМПОНЕНТЫ И РЕМКОМПЛЕКТЫ
FIT
1:1
100%

Артикул

Название

Примечание

Количество

G-1

208-63-X3130

BUCKET CYLINDER G.,L.H.

G-1

208-63-X3140

BUCKET CYLINDER G.,R.H.

|1

208-63-03130

BUCKET CYLINDER A.

1

208-63-74340

CYLINDER

2

707-76-80010

BUSHING

3

07145-00080

SEAL,DUST (KIT)

4

208-63-74320

ROD

5

707-76-10130

BUSHING

6

07145-00100

SEAL,DUST (KIT)

7

07020-00675

FITTING,GREASE

8

707-27-13660

HEAD

9

707-56-95510

SEAL,DUST (KIT)

10

07179-13109

RING,SNAP

11

707-52-90710

BUSHING

12

707-51-95030

PACKING,ROD (KIT)

13

707-51-95630

RING,BUFFER (KIT)

14

07001-05130

RING,BACK-UP (KIT)

15

07000-15130

O-RING (KIT)

16

01010-81875

BOLT

17

707-41-11840

WASHER

18

707-36-13530

PISTON

19

707-40-13770

SPACER

20

01252-31245

BOLT

21

707-44-13280

RING,PISTON (KIT)

22

707-39-13510

RING,WEAR (KIT)

23

707-44-13920

RING

24

07001-02075

RING,BACK-UP (KIT)

25

07000-12075

O-RING (KIT)

26

208-63-74370

TUBE,L.H.

|26

208-63-74470

TUBE,R.H.

27

208-63-74380

TUBE,L.H.

|27

208-63-74480

TUBE,R.H.

28

07000-13030

O-RING (KIT)

29

07000-13035

O-RING (KIT)

30

07372-21045

BOLT

31

07372-21060

BOLT

32

01010-51060

BOLT

33

01643-51032

WASHER

34

208-63-74400

BRACKET

35

707-88-87290

BAND

36

208-63-74390

BRACKET,L.H.

|36

208-63-74490

BRACKET,R.H.

37

707-88-87260

BAND

38

01010-51035

BOLT

39

01643-51032

WASHER

40

01010-51240

BOLT

41

01643-51232

WASHER

42

07283-23442

CLIP

43

07283-23443

CLIP

44

01599-01011

NUT

45

01643-31032

WASHER

Выбрано товаров: 51