Запчасти Komatsu PC40FR-1 НАВЕС ЧАСТИ КОРПУСА

Схема запчастей Komatsu PC40FR-1 - НАВЕС ЧАСТИ КОРПУСА
FIT
1:1
100%

Артикул

Название

Примечание

Количество

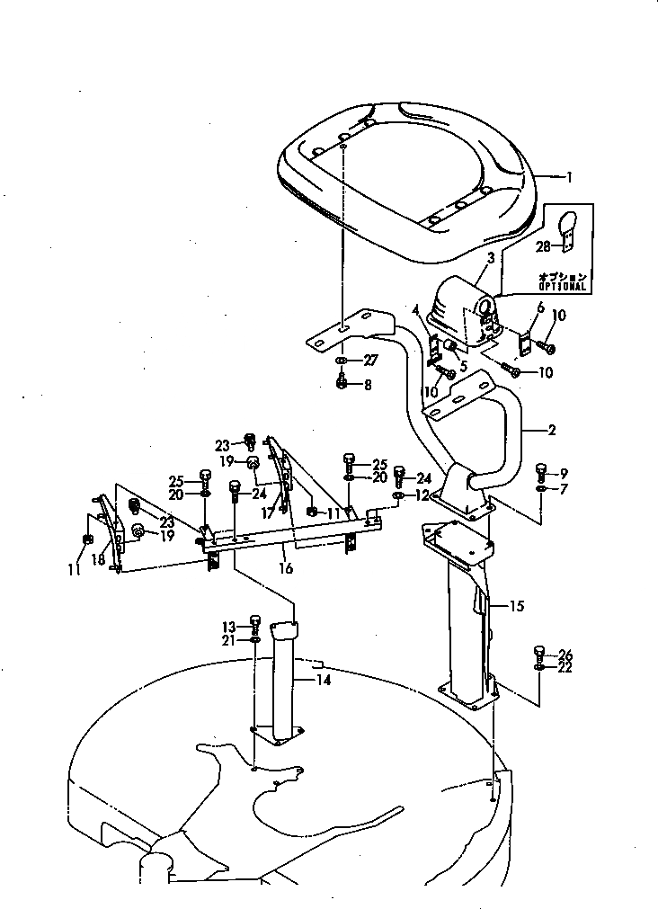
1

YM172964-68100

ROOF,CANOPY

2

YM17216468112K

POLE,(GRAY)

3

YM172164-68190

BOOT,CANOPY

4

YM172164-68250

PLATE

5

YM172164-68270

SPACER

6

YM172164-68290

PLATE

7

YM22217-160000

WASHER

8

YM26013-120302

BOLT

9

YM26076-160402

BOLT

10

YM26589-060252

SCREW

11

YM26716-100002

NUT

12

YM172730-05250

WASHER

13

YM172165-68180

BOLT

14

YM17216468200K

BRACKET ASS'Y,(BLUE)

15

YM17216468301K

BRACKET,(GREEN)

16

YM17216468500K

BRACKET ASS'Y,(GREEN)

17

YM172164-68511

BRACKET

18

YM172164-68641

BRACKET

19

YM172110-36010

COLLAR

20

YM22217-100000

WASHER

21

YM22217-140000

WASHER

22

YM22217-160000

WASHER

23

YM26013-100302

BOLT

24

YM26013-120402

BOLT

25

YM26116-100504

BOLT

26

YM26116-160402

BOLT

27

YM172730-05250

WASHER

28

YM172164-68470

COVER ASS'Y

Выбрано товаров: 28