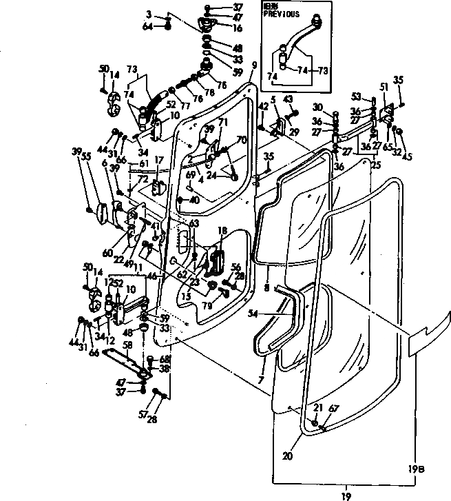
Запчасти Komatsu PC40FR-1 КАБИНА (ДВЕРЬ)(№-) ЧАСТИ КОРПУСА

Схема запчастей Komatsu PC40FR-1 - КАБИНА (ДВЕРЬ)(№-) ЧАСТИ КОРПУСА
FIT
1:1
100%

Артикул

Название

Примечание

Количество

1

YM77217668901K

DOOR ASS'Y

2

YM172176-67000

COVER,DOOR

3

YM22137-100000

WASHER

4

YM172176-67400

LINK

5

YM172176-67090

CATCH

6

YM172176-67100

HANDLE ASS'Y

7

YM172176-67121

TRIM

8

YM172176-67131

TRIM

9

YM172176-68900

DOOR

10

YM172176-69340

BRACKET

11

YM172176-69390

LINK ASS'Y,DOOR

12

YM172141-41370

BUSHING

14

YM172176-69450

COVER

15

YM172162-69460

KEY ASS'Y,CYLINDER

16

YM172176-69470

BRACKET

17

YM172162-69480

LOCK ASS'Y

18

YM172162-69541

HANDLE,OUTER

|18

YM172162-69540

HANDLE,OUTER

19

YM172976-69850

GLASS,DOOR

|19

YM172176-69800

GLASS,DOOR

19B

YM172964-03210

LABEL

20

YM172176-69810

SEAL,GLASS

21

YM172176-69820

COLLAR,GLASS

22

YM172176-67231

COVER,DOOR

23

YM172176-69911

PLATE

24

YM172176-69931

LEVER

25

YM17217669980K

ARM,(GRAY)

27

YM24550-014150

BUSHING

28

YM26716-080002

NUT

29

YM22137-060000

WASHER

30

YM172176-69560

PIN

31

YM22217-100000

WASHER

32

YM22217-100000

WASHER

33

YM22252-000420

RING

34

YM22351-040032

PIN

35

YM22351-040032

PIN

36

YM24311-000220

O-RING

37

YM26013-100202

BOLT

38

YM194145-04810

WASHER

39

YM26022-050102

SCREW

40

YM26022-060122

SCREW

41

YM26022-060162

SCREW

42

YM26022-060122

SCREW

43

YM26013-060302

BOLT

44

YM26716-100002

NUT

45

YM26716-100002

NUT

46

YM172176-69760

SEAL

47

YM22157-100000

WASHER

48

YM172176-69990

BEARING

49

YM172176-67800

BOLT

50

YM172176-68390

BOLT

51

YM17217669600K

BRACKET,(GRAY)

52

YM172176-69790

SHAFT

53

YM933171-21630

PIN,LINK

54

YM172176-67890

INSULATOR,DOOR

55

YM172176-68240

CORD,RUBBER

56

YM172176-67150

RUBBER

57

YM172176-68170

RUBBER,STOPPER

58

YM172176-69960

BRACKET

59

YM24321-000350

O-RING

60

YM26716-080002

NUT

61

YM22417-200200

PIN

62

YM22137-060000

WASHER

63

YM26716-060002

NUT

64

YM26013-100252

BOLT

65

YM22137-100000

WASHER

66

YM22137-100000

WASHER

67

YM26579-060202

SCREW

68

YM26013-100352

BOLT

69

YM172176-67250

PIPE

70

YM172176-67410

BOLT

71

YM26716-080002

NUT

72

YM22137-060000

WASHER

73

YM172187-69350

LINK ASS'Y

|73

YM172176-69390

LINK ASS'Y

74

YM172141-41370

BUSHING

75

YM172187-69390

LINK

76

YM172187-69420

BOLT

77

YM172187-69490

NUT

78

YM26716-160002

NUT

79

KEY ASS'Y

Выбрано товаров: 81