Запчасти Komatsu PC40FR-1 MULTIPLE PATTERN SELECT КЛАПАН УПРАВЛ-Е РАБОЧИМ ОБОРУДОВАНИЕМ

Схема запчастей Komatsu PC40FR-1 - MULTIPLE PATTERN SELECT КЛАПАН УПРАВЛ-Е РАБОЧИМ ОБОРУДОВАНИЕМ
FIT
1:1
100%

Артикул

Название

Примечание

Количество

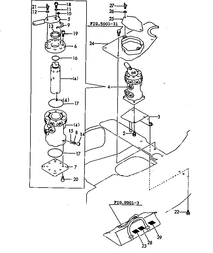
1

YM172964-74530

VALVE KIT

2

YM26013-100252

BOLT

3

YM172164-74200

BRACKET ASS'Y

4

YM172151-74600

VALVE ASS'Y

5

YM172151-74700

LEVER

6

YM172151-74710

COVER

7

YM172151-74720

COVER

8

YM172151-74730

SPRING

9

YM172151-74740

PLATE

10

YM172151-74750

PLATE

11

YM172151-74760

WASHER

12

YM172151-74760

WASHER

13

YM172151-74770

GASKET

14

YM23871-010000

PLUG,SCREW

15

YM24190-100001

BALL,STEEL

16

YM24311-000280

O-RING

17

YM24321-000600

O-RING

18

YM26450-060162

BOLT

19

YM26450-060162

BOLT

20

YM26450-060162

BOLT

21

YM26647-060202

BOLT

22

YM26013-100402

BOLT

23

YM172964-03450

LABEL,PATTERN B

24

YM172164-62501

PLATE,MULTI

|24

YM172164-62500

PLATE,MULTI

25

YM172164-62531

COVER

|25

YM172164-62530

COVER

26

YM22217-100000

WASHER

27

YM26647-100152

BOLT

28

YM172964-03460

LABEL

29

YM172964-03470

LABEL

Выбрано товаров: 31