Запчасти Komatsu PC40FR-1 МЕХ-М ОТБОРА МОЩН-ТИ КЛАПАН УПРАВЛ-Е РАБОЧИМ ОБОРУДОВАНИЕМ

Схема запчастей Komatsu PC40FR-1 - МЕХ-М ОТБОРА МОЩН-ТИ КЛАПАН УПРАВЛ-Е РАБОЧИМ ОБОРУДОВАНИЕМ
FIT
1:1
100%

Артикул

Название

Примечание

Количество

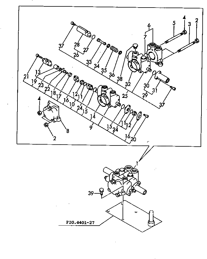
|1

YM172164-74521

P.T.O. KIT

1

YM172164-74700

VALVE ASS'Y,P.T.O.

2

YM26716-080002

NUT

3

YM172122-74230

ROD

4

YM26716-100002

NUT

5

YM172124-74330

ROD

6

YM172168-74810

SECTION ASS'Y,INLET

7

YM933171-80590

O-RING

8

YM933171-80420

SECTION,OUTLET

9

YM172164-74710

SECTION SET,SPOOL

10

YM172164-74400

O-RING ASS'Y

11

YM933171-80610

O-RING

12

YM933166-80520

WIPER

13

YM933166-80530

CAP

14

YM933171-80590

O-RING

15

YM172312-74230

O-RING

16

YM172116-74190

PLATE,SEAL

17

YM172168-74830

SPACER

18

YM172168-74840

PIN

19

YM172168-74850

SLEEVE

20

YM172168-74860

BOLT,SOCKET HEAD

21

YM172151-74290

BOLT,SOCKET HEAD

22

YM172168-74870

BALL,STAINLESS STEEL

23

YM172168-74880

SPRING

24

YM172312-74220

SPACER

25

YM172164-74720

SECTION KIT,SPOOL

26

YM172164-74380

CAP ASS'Y

27

YM172151-74320

O-RING

28

YM172168-72840

CAP,FILLER

29

YM172164-74440

O-RING ASS'Y

30

YM172151-74320

O-RING

31

YM172168-72870

CAP

32

YM933171-80590

O-RING

33

YM172168-72850

END,SPOOL

34

YM172175-74220

SEAT,SPRING

35

YM172176-74450

SPRING

36

YM172168-72860

SEAT,SPRING

37

YM172151-74060

BOLT,SOCKET HEAD

38

YM172175-74270

PLUG

39

YM26013-100302

BOLT

Выбрано товаров: 40